ОСТ 1 12573-76 Втулки

ОСТ 1 12573-76 ВТУЛКИ

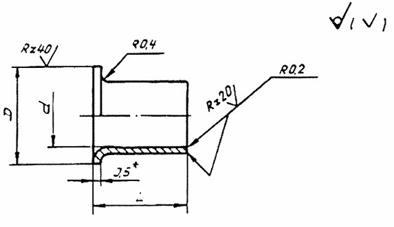
     Втулки по ОСТ 1 12573-76 - это особый крепеж, представляющий собой цилиндрическую форму с отверстием определенного диаметра с гладкой либо ступенчатой поверхностью, которая крепится на шкив в качестве прокладки с другими деталями механизма.

КОНСТРУКЦИЯ И ТЕХНИЧЕСКИЕ ОСОБЕННОСТИ

     Конструкция втулки состоит из цилиндра с отверстием.

     Материал изготовления: лента латунная Л63М-Н ГОСТ 2208-75.

     Материал покрытия: О-Н(65)9.

ОСТ 1 12573-76.pdf

Пример наименования и обозначения втулки типоразмера 12:

Втулка 12-ОСТ 1 12573-76

Втулка
Наименование метиза
12
Типоразмер
ОСТ 1 12573-76
Нормативно-технический документ

ПРИМЕНЕНИЕ

     Данные втулки используются во многих отраслях промышленности.

АНАЛОГИ

ОСТ/ГОСТНормальНаименованиеТипоразмерНа складе
ОСТ 1 12573-76Втулка1В наличии
ОСТ 1 12573-76Втулка2В наличии
ОСТ 1 12573-76Втулка3В наличии
ОСТ 1 12573-76Втулка4В наличии
ОСТ 1 12573-76Втулка5В наличии
ОСТ 1 12573-76Втулка6В наличии
ОСТ 1 12573-76Втулка7В наличии
ОСТ 1 12573-76Втулка8В наличии
ОСТ 1 12573-76Втулка9В наличии
ОСТ 1 12573-76Втулка10В наличии
ОСТ 1 12573-76Втулка11В наличии
ОСТ 1 12573-76Втулка12В наличии
ОСТ 1 12573-76Втулка13В наличии
ОСТ 1 12573-76Втулка14В наличии
ОСТ 1 12573-76Втулка15В наличии
ОСТ 1 12573-76Втулка16В наличии
ОСТ 1 12573-76Втулка17В наличии
ОСТ 1 12573-76Втулка18В наличии
ОСТ 1 12573-76Втулка19В наличии
ОСТ 1 12573-76Втулка20В наличии
ОСТ 1 12573-76Втулка21В наличии
ОСТ 1 12573-76Втулка22В наличии
ОСТ 1 12573-76Втулка23В наличии
ОСТ 1 12573-76Втулка24В наличии
ОСТ 1 12573-76Втулка25В наличии
ОСТ 1 12573-76Втулка26В наличии
ОСТ 1 12573-76Втулка27В наличии
ОСТ 1 12573-76Втулка28В наличии
ОСТ 1 12573-76Втулка29В наличии
ОСТ 1 12573-76Втулка30В наличии
ОСТ 1 12573-76Втулка31В наличии
ОСТ 1 12573-76Втулка32В наличии
ОСТ 1 12573-76Втулка33В наличии
ОСТ 1 12573-76Втулка34В наличии

Для изготовителей и поставщиков: Добавить мои товары в базу

Для покупателей: Подать заявку на покупку

НаименованиеТипоразмерМатериалКоличество, штВес, кг
Втулка ОСТ 1 12573-76
О

ОСТ 1 30055-84 Накатка кольцевая стержней болт-заклепок из титанового сплава

ОСТ 1 31076-80 Маркировка крепежных изделий взамен НОРМАЛЬ 176АТ

ОСТ 1 31076-80: Маркировка крепежных изделий (взамен НОРМАЛЬ 176АТ)

ОСТ 1 38016-80 Футорки

ОСТ 1 38020-82 Втулки

ОСТ 1 39502-77 Стопорение болтов, винтов, шпилек, штифтов и гаек

ОСТ 1 39503-77 Длины болтов и винтов

ОСТ 1 39504-79 Головки шестигранные болтов и винтов

ОСТ 1 41471-79 Формообразование концов труб тяг управления из сплава Д16Т. Типовой технологический процесс

ОСТ 1 51730-79 Оснастка для формообразования концов труб тяг управления из сплава Д16Т

ОСТ 1 51731-79 Оснастка для формообразования концов труб тяг управления из сплава Д16Т

ОСТ 1.41001-79 Диаметры отверстий под нарезание резьбы метрической по нормали 754АТ

ОСТ 1.41002-79 Диаметры стержней под нарезание резьбы метрической по нормали 754АТ и ОСТ 1.00039-73

ОСТ 92-0762-72 Болты, винты из титановых сплавов

ОСТ 92-0912-69 Детали из высокопрочных углеродистых легированных и высоколегированных сталей. ОСТ 92-0912-69

ОСТ 92-1130-85 Детали стальные точные

ОСТ 92-1179-77 Детали и сборочные единицы из сталей марок 07Х16Н6 и 08Х17Н5М3

ОСТ 92-8653-75 по ОСТ 92-8674-75 Соединения трубопроводов по внутреннему конусу

ОСТ-1-33102-80 Взамен нормали 102АТУ Гайки ОСТ-1-33102-80

Отраслевая нормаль 214АТ В замен нормали 214МТ55 метрическая резьбой со свободной посадкой

Отраслевая нормаль 714М55 pdf Кольца плоские ,стопорные технические условия

Отраслевая нормаль авиационной техники 101АТУ Взамен 201СТУ51

Отраслевая нормаль авиационной техники. Нормаль 722АТ.

Р

РЕЗЬБА МЕТРИЧЕСКАЯ

Резьба метрическая усиленная тугой посадкой сталь в алюминиевые и магниевые сплавы. Нормаль 254АТ взамен нормальный 154МТ46

Резьба метрическая. Основные размеры и допуски. Отраслевая нормаль 257АТ взамен 57АТ50 взамен 153МТ54.

РЕЗЬБА ТРАПЕЦЕИДАЛЬНАЯ

РЕЗЬБА ТРУБНАЯ ЦИЛИНДРИЧЕСКАЯ

РЕЗЬБА УПОРНАЯ

Резьба усиленная метрическая тугой посадкой сталь сталь система вала настоящая норма распространяется на резьбу усиленную метрическую тугой посадкой для сопрягаемых материалов сталь в сталь. Нормаль 122МТ53 взамен нормали 122МТ51

Резьба усиленная метрическая тугой посадкой сталь сталь система вала настоящая норма распространяется на резьбу усиленную метрическую тугой посадкой для сопрягаемых материалов сталь в сталь. Нормаль 122МТ53 взамен нормали 122МТ51

Резьбовые соединения. Резьба метрическая с натягом по посадкам 2Н5Д и 2Н5С Отраслевой стандарт ОСТ 1 04065–92

Оформите заказ или получите консультацию