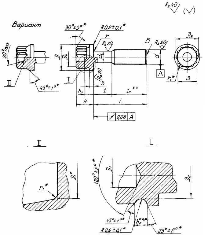
ОСТ 1 31020-77 болты с двенадцатишлицевой головкой специальные
Настоящий стандарт распространяется на специальные болты с двенадцатишлицевой головкой, предназначенные для эксплуатации в газотрубинных двигателях из стали ХН73МБТЮ-ВД с гайками по ОСТ 1 33401-77 при температуре до 700 гр.
Конструкция и технические особенности
Конструкция болта состоит из двенадцатишлицевой головки и цилиндрического стержня.
Материал изготовления: сталь ХН73МБТЮ-ВД.
Материал покрытия: Хим.пас.
Пример наименования и обозначения болта с двенадцатишлицевой головкой с резьбой М6 и длиной L=24мм из стали ХН73МБТЮ-ВД:
Болт 6-24-ОСТ 1 31020-77
ПРИМЕНЕНИЕ
Данные болты применяются во многих отраслях промышленности. Высокий спрос на изделие в машиностроении и строительстве, где такие болты используют для надежного крепления массивных деталей и металлических конструкций.
АНАЛОГИ
| ОСТ/ГОСТ | Нормаль | Наименование | Типоразмер | На складе |
| ОСТ 1 31020-77 | Болт | M6х18 | В наличии | |
| ОСТ 1 31020-77 | Болт | M6х20 | В наличии | |
| ОСТ 1 31020-77 | Болт | M6х22 | В наличии | |
| ОСТ 1 31020-77 | Болт | M6х24 | В наличии | |
| ОСТ 1 31020-77 | Болт | M6х26 | В наличии | |
| ОСТ 1 31020-77 | Болт | M6х28 | В наличии | |
| ОСТ 1 31020-77 | Болт | M6х30 | В наличии | |
| ОСТ 1 31020-77 | Болт | M6х32 | В наличии | |
| ОСТ 1 31020-77 | Болт | M6х34 | В наличии | |
| ОСТ 1 31020-77 | Болт | M6х36 | В наличии | |
| ОСТ 1 31020-77 | Болт | M6х38 | В наличии | |
| ОСТ 1 31020-77 | Болт | M6х40 | В наличии | |
| ОСТ 1 31020-77 | Болт | M6х42 | В наличии | |
| ОСТ 1 31020-77 | Болт | M6х44 | В наличии | |
| ОСТ 1 31020-77 | Болт | M6х46 | В наличии | |
| ОСТ 1 31020-77 | Болт | M6х48 | В наличии | |
| ОСТ 1 31020-77 | Болт | M6х50 | В наличии | |
| ОСТ 1 31020-77 | Болт | M8х22 | В наличии | |
| ОСТ 1 31020-77 | Болт | M8х24 | В наличии | |
| ОСТ 1 31020-77 | Болт | M8х26 | В наличии | |
| ОСТ 1 31020-77 | Болт | M8х28 | В наличии | |
| ОСТ 1 31020-77 | Болт | M8х30 | В наличии | |
| ОСТ 1 31020-77 | Болт | M8х32 | В наличии | |
| ОСТ 1 31020-77 | Болт | M8х34 | В наличии | |
| ОСТ 1 31020-77 | Болт | M8х36 | В наличии | |
| ОСТ 1 31020-77 | Болт | M8х38 | В наличии | |
| ОСТ 1 31020-77 | Болт | M8х40 | В наличии | |
| ОСТ 1 31020-77 | Болт | M8х42 | В наличии | |
| ОСТ 1 31020-77 | Болт | M8х44 | В наличии | |
| ОСТ 1 31020-77 | Болт | M8х46 | В наличии | |
| ОСТ 1 31020-77 | Болт | M8х48 | В наличии | |
| ОСТ 1 31020-77 | Болт | M8х50 | В наличии | |
| ОСТ 1 31020-77 | Болт | M8х52 | В наличии | |
| ОСТ 1 31020-77 | Болт | M8х54 | В наличии | |
| ОСТ 1 31020-77 | Болт | M8х56 | В наличии | |
| ОСТ 1 31020-77 | Болт | M8х58 | В наличии | |
| ОСТ 1 31020-77 | Болт | M8х60 | В наличии | |
| ОСТ 1 31020-77 | Болт | M8х62 | В наличии | |
| ОСТ 1 31020-77 | Болт | M8х64 | В наличии | |
| ОСТ 1 31020-77 | Болт | M8х66 | В наличии | |
| ОСТ 1 31020-77 | Болт | M8х68 | В наличии | |
| ОСТ 1 31020-77 | Болт | M8х70 | В наличии | |
| ОСТ 1 31020-77 | Болт | M8х72 | В наличии | |
| ОСТ 1 31020-77 | Болт | M8х74 | В наличии | |
| ОСТ 1 31020-77 | Болт | M8х76 | В наличии | |
| ОСТ 1 31020-77 | Болт | M8х78 | В наличии | |
| ОСТ 1 31020-77 | Болт | M8х80 | В наличии | |
| ОСТ 1 31020-77 | Болт | M10х24 | В наличии | |
| ОСТ 1 31020-77 | Болт | M10х26 | В наличии | |
| ОСТ 1 31020-77 | Болт | M10х28 | В наличии | |
| ОСТ 1 31020-77 | Болт | M10х30 | В наличии | |
| ОСТ 1 31020-77 | Болт | M10х32 | В наличии | |
| ОСТ 1 31020-77 | Болт | M10х34 | В наличии | |
| ОСТ 1 31020-77 | Болт | M10х36 | В наличии | |
| ОСТ 1 31020-77 | Болт | M10х38 | В наличии | |
| ОСТ 1 31020-77 | Болт | M10х40 | В наличии | |
| ОСТ 1 31020-77 | Болт | M10х42 | В наличии | |
| ОСТ 1 31020-77 | Болт | M10х44 | В наличии | |
| ОСТ 1 31020-77 | Болт | M10х46 | В наличии | |
| ОСТ 1 31020-77 | Болт | M10х48 | В наличии | |
| ОСТ 1 31020-77 | Болт | M10х50 | В наличии | |
| ОСТ 1 31020-77 | Болт | M10х52 | В наличии | |
| ОСТ 1 31020-77 | Болт | M10х54 | В наличии | |
| ОСТ 1 31020-77 | Болт | M10х56 | В наличии | |
| ОСТ 1 31020-77 | Болт | M10х58 | В наличии | |
| ОСТ 1 31020-77 | Болт | M10х60 | В наличии | |
| ОСТ 1 31020-77 | Болт | M10х62 | В наличии | |
| ОСТ 1 31020-77 | Болт | M10х64 | В наличии | |
| ОСТ 1 31020-77 | Болт | M10х66 | В наличии | |
| ОСТ 1 31020-77 | Болт | M10х68 | В наличии | |
| ОСТ 1 31020-77 | Болт | M10х70 | В наличии | |
| ОСТ 1 31020-77 | Болт | M10х72 | В наличии | |
| ОСТ 1 31020-77 | Болт | M10х74 | В наличии | |
| ОСТ 1 31020-77 | Болт | M10х76 | В наличии | |
| ОСТ 1 31020-77 | Болт | M10х78 | В наличии | |
| ОСТ 1 31020-77 | Болт | M10х80 | В наличии |
Для изготовителей и поставщиков: Добавить мои товары в базу
Для покупателей: Подать заявку на покупку
| Наименование | Типоразмер | Материал | Количество, шт | Вес, кг |
| Болт ОСТ 1 31020-77 |
ОСТ 1 30055-84 Накатка кольцевая стержней болт-заклепок из титанового сплава
ОСТ 1 31076-80 Маркировка крепежных изделий взамен НОРМАЛЬ 176АТ
ОСТ 1 31076-80: Маркировка крепежных изделий (взамен НОРМАЛЬ 176АТ)
ОСТ 1 39502-77 Стопорение болтов, винтов, шпилек, штифтов и гаек
ОСТ 1 39503-77 Длины болтов и винтов
ОСТ 1 39504-79 Головки шестигранные болтов и винтов
ОСТ 1 51730-79 Оснастка для формообразования концов труб тяг управления из сплава Д16Т
ОСТ 1 51731-79 Оснастка для формообразования концов труб тяг управления из сплава Д16Т
ОСТ 1.41001-79 Диаметры отверстий под нарезание резьбы метрической по нормали 754АТ
ОСТ 1.41002-79 Диаметры стержней под нарезание резьбы метрической по нормали 754АТ и ОСТ 1.00039-73
ОСТ 92-0762-72 Болты, винты из титановых сплавов
ОСТ 92-1179-77 Детали и сборочные единицы из сталей марок 07Х16Н6 и 08Х17Н5М3
ОСТ 92-8653-75 по ОСТ 92-8674-75 Соединения трубопроводов по внутреннему конусу
ОСТ-1-33102-80 Взамен нормали 102АТУ Гайки ОСТ-1-33102-80
Отраслевая нормаль 214АТ В замен нормали 214МТ55 метрическая резьбой со свободной посадкой
Отраслевая нормаль 714М55 pdf Кольца плоские ,стопорные технические условия
Отраслевая нормаль авиационной техники 101АТУ Взамен 201СТУ51
2026 «Быстрометиз». Мы не интернет-магазин. Информация о наличии и стоимости продукции не является публичной офертой.
Задайте вопрос нашим специалистам