ОСТ 1 37111-89 профили из алюминиевого сплава с плавающими самоконтрящимися гайками
Профили по ОСТ 1 37111-89 - это специальный крепеж, предназначенный для эксплуатации при температуре до 200гр.
КОНСТРУКЦИЯ И ТЕХНИЧЕСКИЕ ОСОБЕННОСТИ
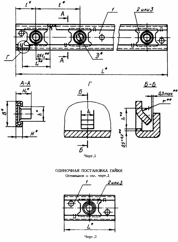
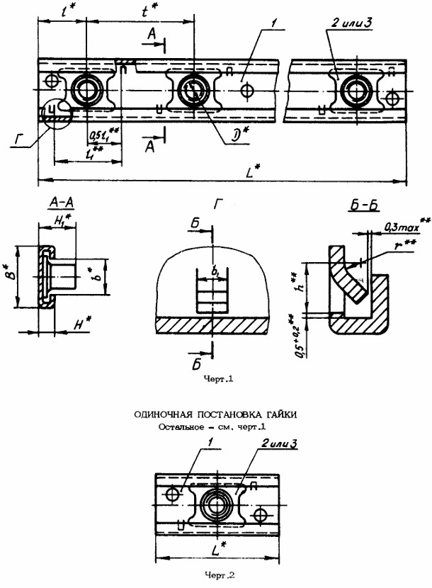
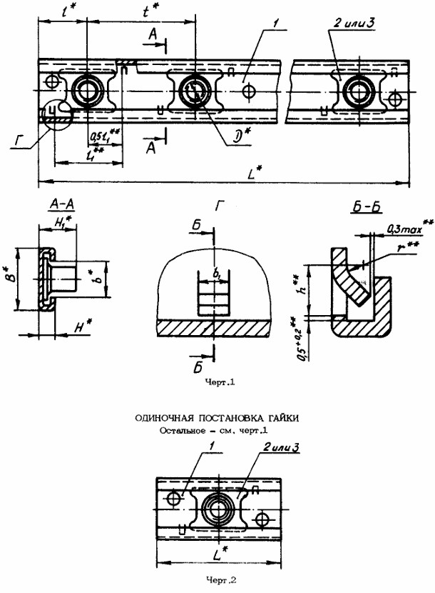
Конструкция профиля состоит из металлической полосы с отверстиями. Поз.1 Профиль (ОСТ 1 11758-76.pdf, ОСТ 1 11759-76.pdf), Поз.2 Гайка (ОСТ 1 37113-89.pdf), Поз.3 Гайка (ОСТ 1 11760-76.pdf)
Материал изготовления: алюминиевый сплав АК4-1чТ.
Материал покрытия: в сборе.
Пример наименования и обозначения профиля из алюминиевого сплава АК4-1чТ длиной L=800 мм с плавающими самоконтрящимися гайками с резьбой МR8, с покрытием Ц.хр, установленными с шагом t=35 мм:
Профиль 8-Ц-35-800-ОСТ 1 37111-89
Пример наименования и обозначения профиля из алюминиевого сплава АК4-1чТ с одной плавающей самоконтрящейся гайкой с резьбой МR8, с покрытием Ц.хр:
Профиль 8-Ц-ОСТ 1 37111-89
ПРИМЕНЕНИЕ
Данные профили используются во многих отраслях промышленности.
АНАЛОГИ
| ОСТ/ГОСТ | Нормаль | Наименование | Типоразмер | На складе |
| ОСТ 1 37111-89 | Профиль | 4 | В наличии | |
| ОСТ 1 37111-89 | Профиль | 5 | В наличии | |
| ОСТ 1 37111-89 | Профиль | 6 | В наличии | |
| ОСТ 1 37111-89 | Профиль | 8 | В наличии |
Для изготовителей и поставщиков: Добавить мои товары в базу
Для покупателей: Подать заявку на покупку
| Наименование | Типоразмер | Материал | Количество, шт | Вес, кг |
| Профиль ОСТ 1 37111-89 |
ОСТ 1 30055-84 Накатка кольцевая стержней болт-заклепок из титанового сплава
ОСТ 1 31076-80 Маркировка крепежных изделий взамен НОРМАЛЬ 176АТ
ОСТ 1 31076-80: Маркировка крепежных изделий (взамен НОРМАЛЬ 176АТ)
ОСТ 1 39502-77 Стопорение болтов, винтов, шпилек, штифтов и гаек
ОСТ 1 39503-77 Длины болтов и винтов
ОСТ 1 39504-79 Головки шестигранные болтов и винтов
ОСТ 1 51730-79 Оснастка для формообразования концов труб тяг управления из сплава Д16Т
ОСТ 1 51731-79 Оснастка для формообразования концов труб тяг управления из сплава Д16Т
ОСТ 1.41001-79 Диаметры отверстий под нарезание резьбы метрической по нормали 754АТ
ОСТ 1.41002-79 Диаметры стержней под нарезание резьбы метрической по нормали 754АТ и ОСТ 1.00039-73
ОСТ 92-0762-72 Болты, винты из титановых сплавов
ОСТ 92-1179-77 Детали и сборочные единицы из сталей марок 07Х16Н6 и 08Х17Н5М3
ОСТ 92-8653-75 по ОСТ 92-8674-75 Соединения трубопроводов по внутреннему конусу
ОСТ-1-33102-80 Взамен нормали 102АТУ Гайки ОСТ-1-33102-80
Отраслевая нормаль 214АТ В замен нормали 214МТ55 метрическая резьбой со свободной посадкой
Отраслевая нормаль 714М55 pdf Кольца плоские ,стопорные технические условия
Отраслевая нормаль авиационной техники 101АТУ Взамен 201СТУ51
2026 «Быстрометиз». Мы не интернет-магазин. Информация о наличии и стоимости продукции не является публичной офертой.
Задайте вопрос нашим специалистам