ОСТ 1 10833-72 Болты с потайной головкой углом 90 градусов с полем допуска диаметра стержня f9 и короткой резьбовой частью из титанового сплава.

ОСТ 1 10833-72 БОЛТЫ С ПОТАЙНОЙ ГОЛОВКОЙ УГЛОМ 90 ГРАДУСОВ С ПОЛЕМ ДОПУСКА ДИАМЕТРА СТЕРЖНЯ 9 и короткой резьбовой частью ИЗ ТИТАНОВОГО СПЛАВА. Взамен 5926А, 5927А.

Болты ОСТ 1 10833-72 - это специальный крепеж, так как изготавливается из титана, им можно соединять сразу несколько деталей, закрепляя их гайками. Используются вместе с гайками (шестигранными, квадратными, приварными). Для более прочного соединения могут применяться шайбы (гроверы).

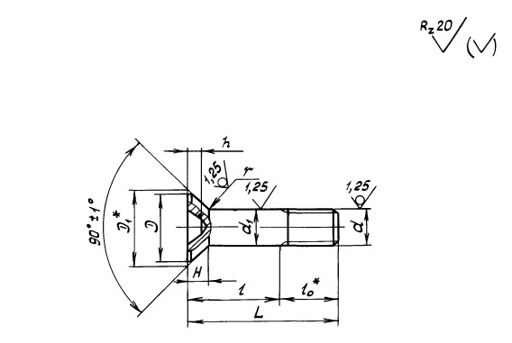
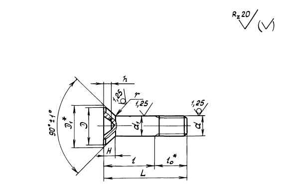
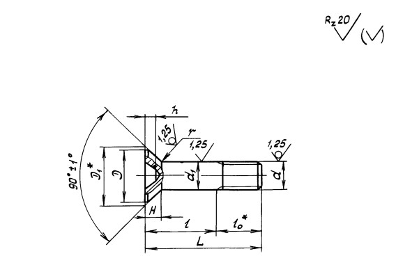
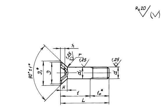
КОНСТРУКЦИЯ И ТЕХНИЧЕСКИЕ ОСОБЕННОСТИ

Конструкция болта состоит из потайной головки и цилиндрического стержня с короткой резьбовой частью.

Материал изготовления титановый сплав ВТ16.

Материал покрытия: Ан.Окс 2-3.

Для использования болтов в агрессивной среде применяют виды покрытия - анодирование.

ОСТ 1 10833-72.pdf

Пример наименования и обозначения болта с потайной головкой углом 90° с полем допуска диаметра стержня f9 из титанового сплава и короткой резьбовой частью, с резьбой М6 и длиной L 24 мм, анодированного:

Расшифровка обознаяения: Болт 6-24-Ан.Окс - ОСТ 1 10833-72

Болт
Наименование метиза
6
Резьба
24
Длина
Ан.Окс.
Покрытие
ОСТ 1 10833-72
Нормативно-технический документ

ПРИМЕНЕНИЕ

Болты применяются во многих отраслях промышленности, строительства и машиностроении. Высокий спрос на изделие и в машиностроеннии, где такие болты используют для надежного крепления, соединения металлических конструкций.

АНАЛОГИ

5926А, 5927А.

ОСТ/ГОСТНормальНаименованиеТипоразмерНа складе
ОСТ 1 10833-725926А, 5927АБолт с потайной головкойM10х86В наличии
ОСТ 1 10833-725926А, 5927АБолт с потайной головкойM10х88В наличии
ОСТ 1 10833-725926А, 5927АБолт с потайной головкойM10х90В наличии
ОСТ 1 10833-725926А, 5927АБолт с потайной головкойM10х92В наличии
ОСТ 1 10833-725926А, 5927АБолт с потайной головкойM10х94В наличии
ОСТ 1 10833-725926А, 5927АБолт с потайной головкойM10х96В наличии
ОСТ 1 10833-725926А, 5927АБолт с потайной головкойM10х98В наличии
ОСТ 1 10833-725926А, 5927АБолт с потайной головкойM10х100В наличии
ОСТ 1 10833-725926А, 5927АБолт с потайной головкойM12х1,5х86В наличии
ОСТ 1 10833-725926А, 5927АБолт с потайной головкойM12х1,5х88В наличии
ОСТ 1 10833-725926А, 5927АБолт с потайной головкойM12х1,5х90В наличии
ОСТ 1 10833-725926А, 5927АБолт с потайной головкойM12х1,5х92В наличии
ОСТ 1 10833-725926А, 5927АБолт с потайной головкойM12х1,5х94В наличии
ОСТ 1 10833-725926А, 5927АБолт с потайной головкойM12х1,5х96В наличии
ОСТ 1 10833-725926А, 5927АБолт с потайной головкойM12х1,5х98В наличии
ОСТ 1 10833-725926А, 5927АБолт с потайной головкойM12х1,5х100В наличии
ОСТ 1 10833-725926А, 5927АБолт с потайной головкойM12х1,5х104В наличии
ОСТ 1 10833-725926А, 5927АБолт с потайной головкойM12х1,5х108В наличии
ОСТ 1 10833-725926А, 5927АБолт с потайной головкойM12х1,5х112В наличии
ОСТ 1 10833-725926А, 5927АБолт с потайной головкойM12х1,5х116В наличии
ОСТ 1 10833-725926А, 5927АБолт с потайной головкойM12х1,5х120В наличии
ОСТ 1 10833-725926А, 5927АБолт с потайной головкойM14х1,5х86В наличии
ОСТ 1 10833-725926А, 5927АБолт с потайной головкойM14х1,5х88В наличии
ОСТ 1 10833-725926А, 5927АБолт с потайной головкойM14х1,5х90В наличии
ОСТ 1 10833-725926А, 5927АБолт с потайной головкойM14х1,5х92В наличии
ОСТ 1 10833-725926А, 5927АБолт с потайной головкойM14х1,5х94В наличии
ОСТ 1 10833-725926А, 5927АБолт с потайной головкойM14х1,5х96В наличии
ОСТ 1 10833-725926А, 5927АБолт с потайной головкойM14х1,5х98В наличии
ОСТ 1 10833-725926А, 5927АБолт с потайной головкойM14х1,5х100В наличии
ОСТ 1 10833-725926А, 5927АБолт с потайной головкойM14х1,5х104В наличии
ОСТ 1 10833-725926А, 5927АБолт с потайной головкойM14х1,5х108В наличии
ОСТ 1 10833-725926А, 5927АБолт с потайной головкойM14х1,5х112В наличии
ОСТ 1 10833-725926А, 5927АБолт с потайной головкойM14х1,5х116В наличии
ОСТ 1 10833-725926А, 5927АБолт с потайной головкойM14х1,5х120В наличии
ОСТ 1 10833-725926А, 5927АБолт с потайной головкойM14х1,5х124В наличии
ОСТ 1 10833-725926А, 5927АБолт с потайной головкойM14х1,5х128В наличии
ОСТ 1 10833-725926А, 5927АБолт с потайной головкойM14х1,5х132В наличии
ОСТ 1 10833-725926А, 5927АБолт с потайной головкойM14х1,5х136В наличии
ОСТ 1 10833-725926А, 5927АБолт с потайной головкойM14х1,5х140В наличии
ОСТ 1 10833-725926А, 5927АБолт с потайной головкойM16х1,5х86В наличии
ОСТ 1 10833-725926А, 5927АБолт с потайной головкойM16х1,5х88В наличии
ОСТ 1 10833-725926А, 5927АБолт с потайной головкойM16х1,5х90В наличии
ОСТ 1 10833-725926А, 5927АБолт с потайной головкойM16х1,5х92В наличии
ОСТ 1 10833-725926А, 5927АБолт с потайной головкойM16х1,5х94В наличии
ОСТ 1 10833-725926А, 5927АБолт с потайной головкойM16х1,5х96В наличии
ОСТ 1 10833-725926А, 5927АБолт с потайной головкойM16х1,5х98В наличии
ОСТ 1 10833-725926А, 5927АБолт с потайной головкойM16х1,5х100В наличии
ОСТ 1 10833-725926А, 5927АБолт с потайной головкойM16х1,5х104В наличии
ОСТ 1 10833-725926А, 5927АБолт с потайной головкойM16х1,5х108В наличии
ОСТ 1 10833-725926А, 5927АБолт с потайной головкойM16х1,5х112В наличии
ОСТ 1 10833-725926А, 5927АБолт с потайной головкойM16х1,5х116В наличии
ОСТ 1 10833-725926А, 5927АБолт с потайной головкойM16х1,5х120В наличии
ОСТ 1 10833-725926А, 5927АБолт с потайной головкойM16х1,5х124В наличии
ОСТ 1 10833-725926А, 5927АБолт с потайной головкойM16х1,5х128В наличии
ОСТ 1 10833-725926А, 5927АБолт с потайной головкойM16х1,5х132В наличии
ОСТ 1 10833-725926А, 5927АБолт с потайной головкойM16х1,5х136В наличии
ОСТ 1 10833-725926А, 5927АБолт с потайной головкойM16х1,5х140В наличии
ОСТ 1 10833-725926А, 5927АБолт с потайной головкойM16х1,5х144В наличии
ОСТ 1 10833-725926А, 5927АБолт с потайной головкойM16х1,5х148В наличии

Для изготовителей и поставщиков: Добавить мои товары в базу

Для покупателей: Подать заявку на покупку

НаименованиеТипоразмерМатериалКоличество, штВес, кг
Болт с потайной головкой ОСТ 1 10833-72 5926А, 5927А
О

ОСТ 1 30055-84 Накатка кольцевая стержней болт-заклепок из титанового сплава

ОСТ 1 31076-80 Маркировка крепежных изделий взамен НОРМАЛЬ 176АТ

ОСТ 1 31076-80: Маркировка крепежных изделий (взамен НОРМАЛЬ 176АТ)

ОСТ 1 38016-80 Футорки

ОСТ 1 38020-82 Втулки

ОСТ 1 39502-77 Стопорение болтов, винтов, шпилек, штифтов и гаек

ОСТ 1 39503-77 Длины болтов и винтов

ОСТ 1 39504-79 Головки шестигранные болтов и винтов

ОСТ 1 41471-79 Формообразование концов труб тяг управления из сплава Д16Т. Типовой технологический процесс

ОСТ 1 51730-79 Оснастка для формообразования концов труб тяг управления из сплава Д16Т

ОСТ 1 51731-79 Оснастка для формообразования концов труб тяг управления из сплава Д16Т

ОСТ 1.41001-79 Диаметры отверстий под нарезание резьбы метрической по нормали 754АТ

ОСТ 1.41002-79 Диаметры стержней под нарезание резьбы метрической по нормали 754АТ и ОСТ 1.00039-73

ОСТ 92-0762-72 Болты, винты из титановых сплавов

ОСТ 92-0912-69 Детали из высокопрочных углеродистых легированных и высоколегированных сталей. ОСТ 92-0912-69

ОСТ 92-1130-85 Детали стальные точные

ОСТ 92-1179-77 Детали и сборочные единицы из сталей марок 07Х16Н6 и 08Х17Н5М3

ОСТ 92-8653-75 по ОСТ 92-8674-75 Соединения трубопроводов по внутреннему конусу

ОСТ-1-33102-80 Взамен нормали 102АТУ Гайки ОСТ-1-33102-80

Отраслевая нормаль 214АТ В замен нормали 214МТ55 метрическая резьбой со свободной посадкой

Отраслевая нормаль 714М55 pdf Кольца плоские ,стопорные технические условия

Отраслевая нормаль авиационной техники 101АТУ Взамен 201СТУ51

Отраслевая нормаль авиационной техники. Нормаль 722АТ.

Р

РЕЗЬБА МЕТРИЧЕСКАЯ

Резьба метрическая усиленная тугой посадкой сталь в алюминиевые и магниевые сплавы. Нормаль 254АТ взамен нормальный 154МТ46

Резьба метрическая. Основные размеры и допуски. Отраслевая нормаль 257АТ взамен 57АТ50 взамен 153МТ54.

РЕЗЬБА ТРАПЕЦЕИДАЛЬНАЯ

РЕЗЬБА ТРУБНАЯ ЦИЛИНДРИЧЕСКАЯ

РЕЗЬБА УПОРНАЯ

Резьба усиленная метрическая тугой посадкой сталь сталь система вала настоящая норма распространяется на резьбу усиленную метрическую тугой посадкой для сопрягаемых материалов сталь в сталь. Нормаль 122МТ53 взамен нормали 122МТ51

Резьба усиленная метрическая тугой посадкой сталь сталь система вала настоящая норма распространяется на резьбу усиленную метрическую тугой посадкой для сопрягаемых материалов сталь в сталь. Нормаль 122МТ53 взамен нормали 122МТ51

Резьбовые соединения. Резьба метрическая с натягом по посадкам 2Н5Д и 2Н5С Отраслевой стандарт ОСТ 1 04065–92

Оформите заказ или получите консультацию