ОСТ 1 11205-73 Корпус заклепок высокого сопротивления срезу с потайной головкой с углом 90 градусов

Ост 11205-73 корпус заклепок высокого сопротивления срезу с потайной головкой с углом 90 градусов

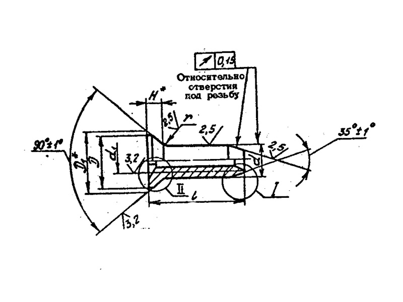
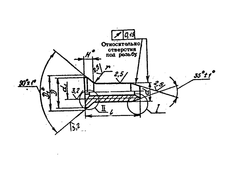
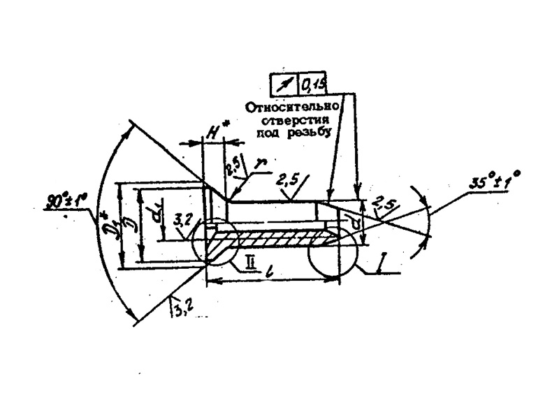
     Корпус заклепок по ОСТ 1 11205-73 – это специальный крепеж, предназначенный для соединения изделий. Взамен нормали 5906А.

КОНСТРУКЦИЯ И ТЕХНИЧЕСКИЕ ОСОБЕННОСТИ

     Конструкция корпуса состоит из цилиндра.

     Материал изготовления: сталь 30ХГСА-Д-П.

     Материал покрытия: Кд6.хр.

ОСТ 1 11205-73.pdf

Пример наименования и обозначения корпуса типоразмера 2:

Корпус 2-ОСТ 1 11205-73

Корпус
Наименование метиза
2
Типоразмер
ОСТ 1 11205-73
Нормативно-технический документ

ПРИМЕНЕНИЕ

     Данные корпуса используются во многих отраслях промышленности.

АНАЛОГИ

Нормаль 5906А.

ОСТ/ГОСТНормальНаименованиеТипоразмерНа складе
ОСТ 1 11205-735906АКорпус79В наличии
ОСТ 1 11205-735906АКорпус80В наличии
ОСТ 1 11205-735906АКорпус81В наличии
ОСТ 1 11205-735906АКорпус82В наличии
ОСТ 1 11205-735906АКорпус83В наличии
ОСТ 1 11205-735906АКорпус84В наличии
ОСТ 1 11205-735906АКорпус85В наличии
ОСТ 1 11205-735906АКорпус86В наличии
ОСТ 1 11205-735906АКорпус87В наличии
ОСТ 1 11205-735906АКорпус88В наличии
ОСТ 1 11205-735906АКорпус89В наличии
ОСТ 1 11205-735906АКорпус1В наличии
ОСТ 1 11205-735906АКорпус2В наличии
ОСТ 1 11205-735906АКорпус3В наличии
ОСТ 1 11205-735906АКорпус4В наличии
ОСТ 1 11205-735906АКорпус5В наличии
ОСТ 1 11205-735906АКорпус6В наличии
ОСТ 1 11205-735906АКорпус7В наличии
ОСТ 1 11205-735906АКорпус8В наличии
ОСТ 1 11205-735906АКорпус9В наличии
ОСТ 1 11205-735906АКорпус10В наличии
ОСТ 1 11205-735906АКорпус11В наличии
ОСТ 1 11205-735906АКорпус12В наличии
ОСТ 1 11205-735906АКорпус13В наличии
ОСТ 1 11205-735906АКорпус17В наличии
ОСТ 1 11205-735906АКорпус18В наличии
ОСТ 1 11205-735906АКорпус19В наличии
ОСТ 1 11205-735906АКорпус20В наличии
ОСТ 1 11205-735906АКорпус21В наличии
ОСТ 1 11205-735906АКорпус22В наличии
ОСТ 1 11205-735906АКорпус23В наличии
ОСТ 1 11205-735906АКорпус24В наличии
ОСТ 1 11205-735906АКорпус25В наличии
ОСТ 1 11205-735906АКорпус26В наличии
ОСТ 1 11205-735906АКорпус27В наличии
ОСТ 1 11205-735906АКорпус28В наличии
ОСТ 1 11205-735906АКорпус29В наличии
ОСТ 1 11205-735906АКорпус30В наличии
ОСТ 1 11205-735906АКорпус31В наличии
ОСТ 1 11205-735906АКорпус32В наличии
ОСТ 1 11205-735906АКорпус36В наличии
ОСТ 1 11205-735906АКорпус37В наличии
ОСТ 1 11205-735906АКорпус38В наличии
ОСТ 1 11205-735906АКорпус39В наличии
ОСТ 1 11205-735906АКорпус40В наличии
ОСТ 1 11205-735906АКорпус41В наличии
ОСТ 1 11205-735906АКорпус42В наличии
ОСТ 1 11205-735906АКорпус43В наличии
ОСТ 1 11205-735906АКорпус44В наличии
ОСТ 1 11205-735906АКорпус45В наличии
ОСТ 1 11205-735906АКорпус46В наличии
ОСТ 1 11205-735906АКорпус47В наличии
ОСТ 1 11205-735906АКорпус48В наличии
ОСТ 1 11205-735906АКорпус49В наличии
ОСТ 1 11205-735906АКорпус50В наличии
ОСТ 1 11205-735906АКорпус51В наличии
ОСТ 1 11205-735906АКорпус55В наличии
ОСТ 1 11205-735906АКорпус56В наличии
ОСТ 1 11205-735906АКорпус57В наличии
ОСТ 1 11205-735906АКорпус58В наличии
ОСТ 1 11205-735906АКорпус59В наличии
ОСТ 1 11205-735906АКорпус60В наличии
ОСТ 1 11205-735906АКорпус61В наличии
ОСТ 1 11205-735906АКорпус62В наличии
ОСТ 1 11205-735906АКорпус63В наличии
ОСТ 1 11205-735906АКорпус64В наличии
ОСТ 1 11205-735906АКорпус65В наличии
ОСТ 1 11205-735906АКорпус66В наличии
ОСТ 1 11205-735906АКорпус67В наличии
ОСТ 1 11205-735906АКорпус68В наличии
ОСТ 1 11205-735906АКорпус69В наличии
ОСТ 1 11205-735906АКорпус70В наличии
ОСТ 1 11205-735906АКорпус71В наличии
ОСТ 1 11205-735906АКорпус72В наличии
ОСТ 1 11205-735906АКорпус73В наличии
ОСТ 1 11205-735906АКорпус74В наличии
ОСТ 1 11205-735906АКорпус75В наличии

Для изготовителей и поставщиков: Добавить мои товары в базу

Для покупателей: Подать заявку на покупку

НаименованиеТипоразмерМатериалКоличество, штВес, кг
Корпус ОСТ 1 11205-73 5906А
О

ОСТ 1 30055-84 Накатка кольцевая стержней болт-заклепок из титанового сплава

ОСТ 1 31076-80 Маркировка крепежных изделий взамен НОРМАЛЬ 176АТ

ОСТ 1 31076-80: Маркировка крепежных изделий (взамен НОРМАЛЬ 176АТ)

ОСТ 1 38016-80 Футорки

ОСТ 1 38020-82 Втулки

ОСТ 1 39502-77 Стопорение болтов, винтов, шпилек, штифтов и гаек

ОСТ 1 39503-77 Длины болтов и винтов

ОСТ 1 39504-79 Головки шестигранные болтов и винтов

ОСТ 1 41471-79 Формообразование концов труб тяг управления из сплава Д16Т. Типовой технологический процесс

ОСТ 1 51730-79 Оснастка для формообразования концов труб тяг управления из сплава Д16Т

ОСТ 1 51731-79 Оснастка для формообразования концов труб тяг управления из сплава Д16Т

ОСТ 1.41001-79 Диаметры отверстий под нарезание резьбы метрической по нормали 754АТ

ОСТ 1.41002-79 Диаметры стержней под нарезание резьбы метрической по нормали 754АТ и ОСТ 1.00039-73

ОСТ 92-0762-72 Болты, винты из титановых сплавов

ОСТ 92-0912-69 Детали из высокопрочных углеродистых легированных и высоколегированных сталей. ОСТ 92-0912-69

ОСТ 92-1130-85 Детали стальные точные

ОСТ 92-1179-77 Детали и сборочные единицы из сталей марок 07Х16Н6 и 08Х17Н5М3

ОСТ 92-8653-75 по ОСТ 92-8674-75 Соединения трубопроводов по внутреннему конусу

ОСТ-1-33102-80 Взамен нормали 102АТУ Гайки ОСТ-1-33102-80

Отраслевая нормаль 214АТ В замен нормали 214МТ55 метрическая резьбой со свободной посадкой

Отраслевая нормаль 714М55 pdf Кольца плоские ,стопорные технические условия

Отраслевая нормаль авиационной техники 101АТУ Взамен 201СТУ51

Отраслевая нормаль авиационной техники. Нормаль 722АТ.

Р

РЕЗЬБА МЕТРИЧЕСКАЯ

Резьба метрическая усиленная тугой посадкой сталь в алюминиевые и магниевые сплавы. Нормаль 254АТ взамен нормальный 154МТ46

Резьба метрическая. Основные размеры и допуски. Отраслевая нормаль 257АТ взамен 57АТ50 взамен 153МТ54.

РЕЗЬБА ТРАПЕЦЕИДАЛЬНАЯ

РЕЗЬБА ТРУБНАЯ ЦИЛИНДРИЧЕСКАЯ

РЕЗЬБА УПОРНАЯ

Резьба усиленная метрическая тугой посадкой сталь сталь система вала настоящая норма распространяется на резьбу усиленную метрическую тугой посадкой для сопрягаемых материалов сталь в сталь. Нормаль 122МТ53 взамен нормали 122МТ51

Резьба усиленная метрическая тугой посадкой сталь сталь система вала настоящая норма распространяется на резьбу усиленную метрическую тугой посадкой для сопрягаемых материалов сталь в сталь. Нормаль 122МТ53 взамен нормали 122МТ51

Резьбовые соединения. Резьба метрическая с натягом по посадкам 2Н5Д и 2Н5С Отраслевой стандарт ОСТ 1 04065–92

Оформите заказ или получите консультацию