ОСТ 1 12293-75 Манжеты фторопластовые

ОСТ 1 12293-75 манжеты фторопластовые

     Манжеты фторопластовые по ОСТ 1 13345-78 – это специальный крепеж, предназначенный для применения в уплотнительных устройствах.

КОНСТРУКЦИЯ И ТЕХНИЧЕСКИЕ ОСОБЕННОСТИ

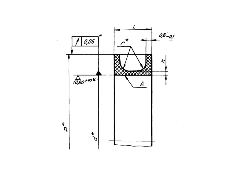
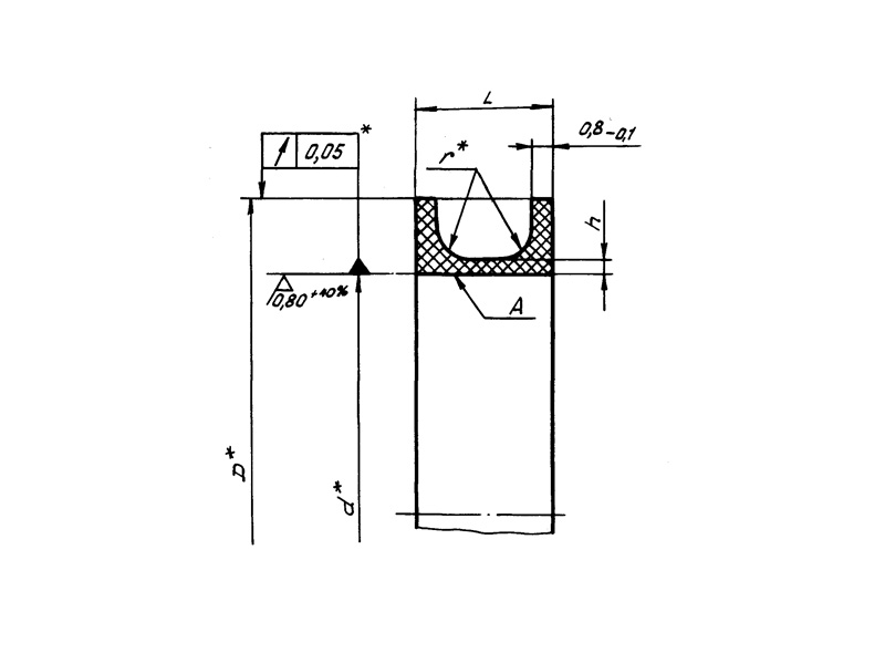
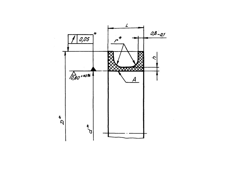
     Конструкция состоит из загнутой по краям пластины.

     Материал изготовления: заготовка фторопласт-4 сорт 1 ТУ 6-05-810-76; заменитель - заготовка фторопласт-4 сорт 1 ТУ 6-05-810-76 из полимера марки ПН.

     Материал покрытия: без покрытия.

ОСТ 1 12293-75.pdf

Пример наименования и обозначения фторопластовой манжеты для диаметра штока 12 мм:

Манжета 12-ОСТ 1 12293-75

Манжета
Наименование метиза
12
Диаметр штока
ОСТ 1 12293-75
Нормативно-технический документ

ПРИМЕНЕНИЕ

     Данные манжеты используются во многих отраслях промышленности.

АНАЛОГИ

ОСТ/ГОСТНормальНаименованиеТипоразмерНа складе
ОСТ 1 12293-75Манжета12В наличии
ОСТ 1 12293-75Манжета14В наличии
ОСТ 1 12293-75Манжета16В наличии
ОСТ 1 12293-75Манжета18В наличии
ОСТ 1 12293-75Манжета20В наличии
ОСТ 1 12293-75Манжета22В наличии
ОСТ 1 12293-75Манжета25В наличии
ОСТ 1 12293-75Манжета28В наличии
ОСТ 1 12293-75Манжета30В наличии
ОСТ 1 12293-75Манжета32В наличии
ОСТ 1 12293-75Манжета36В наличии
ОСТ 1 12293-75Манжета40В наличии
ОСТ 1 12293-75Манжета45В наличии
ОСТ 1 12293-75Манжета50В наличии
ОСТ 1 12293-75Манжета56В наличии
ОСТ 1 12293-75Манжета60В наличии
ОСТ 1 12293-75Манжета75В наличии
ОСТ 1 12293-75Манжета80В наличии

Для изготовителей и поставщиков: Добавить мои товары в базу

Для покупателей: Подать заявку на покупку

НаименованиеТипоразмерМатериалКоличество, штВес, кг
Манжета ОСТ 1 12293-75
О

ОСТ 1 30055-84 Накатка кольцевая стержней болт-заклепок из титанового сплава

ОСТ 1 31076-80 Маркировка крепежных изделий взамен НОРМАЛЬ 176АТ

ОСТ 1 31076-80: Маркировка крепежных изделий (взамен НОРМАЛЬ 176АТ)

ОСТ 1 38016-80 Футорки

ОСТ 1 38020-82 Втулки

ОСТ 1 39502-77 Стопорение болтов, винтов, шпилек, штифтов и гаек

ОСТ 1 39503-77 Длины болтов и винтов

ОСТ 1 39504-79 Головки шестигранные болтов и винтов

ОСТ 1 41471-79 Формообразование концов труб тяг управления из сплава Д16Т. Типовой технологический процесс

ОСТ 1 51730-79 Оснастка для формообразования концов труб тяг управления из сплава Д16Т

ОСТ 1 51731-79 Оснастка для формообразования концов труб тяг управления из сплава Д16Т

ОСТ 1.41001-79 Диаметры отверстий под нарезание резьбы метрической по нормали 754АТ

ОСТ 1.41002-79 Диаметры стержней под нарезание резьбы метрической по нормали 754АТ и ОСТ 1.00039-73

ОСТ 92-0762-72 Болты, винты из титановых сплавов

ОСТ 92-0912-69 Детали из высокопрочных углеродистых легированных и высоколегированных сталей. ОСТ 92-0912-69

ОСТ 92-1179-77 Детали и сборочные единицы из сталей марок 07Х16Н6 и 08Х17Н5М3

ОСТ 92-8653-75 по ОСТ 92-8674-75 Соединения трубопроводов по внутреннему конусу

ОСТ-1-33102-80 Взамен нормали 102АТУ Гайки ОСТ-1-33102-80

Отраслевая нормаль 214АТ В замен нормали 214МТ55 метрическая резьбой со свободной посадкой

Отраслевая нормаль 714М55 pdf Кольца плоские ,стопорные технические условия

Отраслевая нормаль авиационной техники 101АТУ Взамен 201СТУ51

Отраслевая нормаль авиационной техники. Нормаль 722АТ.

Р

РЕЗЬБА МЕТРИЧЕСКАЯ

Резьба метрическая усиленная тугой посадкой сталь в алюминиевые и магниевые сплавы. Нормаль 254АТ взамен нормальный 154МТ46

Резьба метрическая. Основные размеры и допуски. Отраслевая нормаль 257АТ взамен 57АТ50 взамен 153МТ54.

РЕЗЬБА ТРАПЕЦЕИДАЛЬНАЯ

РЕЗЬБА ТРУБНАЯ ЦИЛИНДРИЧЕСКАЯ

РЕЗЬБА УПОРНАЯ

Резьба усиленная метрическая тугой посадкой сталь сталь система вала настоящая норма распространяется на резьбу усиленную метрическую тугой посадкой для сопрягаемых материалов сталь в сталь. Нормаль 122МТ53 взамен нормали 122МТ51

Резьба усиленная метрическая тугой посадкой сталь сталь система вала настоящая норма распространяется на резьбу усиленную метрическую тугой посадкой для сопрягаемых материалов сталь в сталь. Нормаль 122МТ53 взамен нормали 122МТ51

Резьбовые соединения. Резьба метрическая с натягом по посадкам 2Н5Д и 2Н5С Отраслевой стандарт ОСТ 1 04065–92

Оформите заказ или получите консультацию