гОСТ 23360-78 соединения шпоночные с призматическими шпонками
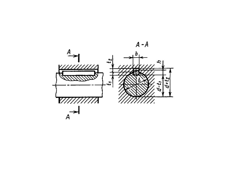
Шпонки по ГОСТ 23360-78 – это деталь, предназначенная для закрепления детали на валу и передачи ей вращающего момента.
КОНСТРУКЦИЯ И ТЕХНИЧЕСКИЕ ОСОБЕННОСТИ
Конструкция шпонки состоит из цилиндра.
Материал изготовления: сталь чистотянутая по ГОСТ 8787-68.
Материал покрытия: без покрытия.
Пример условного обозначения шпонки исполнения 1, размерами b=18 мм, h=11 мм, l=100 мм:
Шпонка 18x11x100 ГОСТ 23360-78
То же, исполнения 2:
Шпонка 2-18x11x100 ГОСТ 23360-78
ПРИМЕНЕНИЕ
Данные соединения шпоночные используются во многих отраслях промышленности.
АНАЛОГИ
| ОСТ/ГОСТ | Нормаль | Наименование | Типоразмер | На складе |
| ГОСТ 23360-78 | Шпонка | 2х2х2х6 | В наличии | |
| ГОСТ 23360-78 | Шпонка | 2х2х2х8 | В наличии | |
| ГОСТ 23360-78 | Шпонка | 2х2х2х10 | В наличии | |
| ГОСТ 23360-78 | Шпонка | 2х2х2х12 | В наличии | |
| ГОСТ 23360-78 | Шпонка | 2х2х2х14 | В наличии | |
| ГОСТ 23360-78 | Шпонка | 2х2х2х16 | В наличии | |
| ГОСТ 23360-78 | Шпонка | 2х2х2х18 | В наличии | |
| ГОСТ 23360-78 | Шпонка | 2х2х2х20 | В наличии | |
| ГОСТ 23360-78 | Шпонка | 2х3х3х6 | В наличии | |
| ГОСТ 23360-78 | Шпонка | 2х3х3х8 | В наличии | |
| ГОСТ 23360-78 | Шпонка | 2х3х3х10 | В наличии | |
| ГОСТ 23360-78 | Шпонка | 2х3х3х12 | В наличии | |
| ГОСТ 23360-78 | Шпонка | 2х3х3х14 | В наличии | |
| ГОСТ 23360-78 | Шпонка | 2х3х3х16 | В наличии | |
| ГОСТ 23360-78 | Шпонка | 2х3х3х18 | В наличии | |
| ГОСТ 23360-78 | Шпонка | 2х3х3х20 | В наличии | |
| ГОСТ 23360-78 | Шпонка | 2х3х3х22 | В наличии | |
| ГОСТ 23360-78 | Шпонка | 2х3х3х25 | В наличии | |
| ГОСТ 23360-78 | Шпонка | 2х3х3х28 | В наличии | |
| ГОСТ 23360-78 | Шпонка | 2х3х3х32 | В наличии | |
| ГОСТ 23360-78 | Шпонка | 2х3х3х36 | В наличии | |
| ГОСТ 23360-78 | Шпонка | 2х4х4х8 | В наличии | |
| ГОСТ 23360-78 | Шпонка | 2х4х4х10 | В наличии | |
| ГОСТ 23360-78 | Шпонка | 2х4х4х12 | В наличии | |
| ГОСТ 23360-78 | Шпонка | 2х4х4х14 | В наличии | |
| ГОСТ 23360-78 | Шпонка | 2х4х4х16 | В наличии | |
| ГОСТ 23360-78 | Шпонка | 2х4х4х18 | В наличии | |
| ГОСТ 23360-78 | Шпонка | 2х4х4х20 | В наличии | |
| ГОСТ 23360-78 | Шпонка | 2х4х4х22 | В наличии | |
| ГОСТ 23360-78 | Шпонка | 2х4х4х25 | В наличии | |
| ГОСТ 23360-78 | Шпонка | 2х4х4х28 | В наличии | |
| ГОСТ 23360-78 | Шпонка | 2х4х4х32 | В наличии | |
| ГОСТ 23360-78 | Шпонка | 2х4х4х36 | В наличии | |
| ГОСТ 23360-78 | Шпонка | 2х4х4х40 | В наличии | |
| ГОСТ 23360-78 | Шпонка | 2х4х4х45 | В наличии | |
| ГОСТ 23360-78 | Шпонка | 2х5х5х10 | В наличии | |
| ГОСТ 23360-78 | Шпонка | 2х5х5х12 | В наличии | |
| ГОСТ 23360-78 | Шпонка | 2х5х5х14 | В наличии | |
| ГОСТ 23360-78 | Шпонка | 2х5х5х16 | В наличии | |
| ГОСТ 23360-78 | Шпонка | 2х5х5х18 | В наличии | |
| ГОСТ 23360-78 | Шпонка | 2х5х5х20 | В наличии | |
| ГОСТ 23360-78 | Шпонка | 2х5х5х22 | В наличии | |
| ГОСТ 23360-78 | Шпонка | 2х5х5х25 | В наличии | |
| ГОСТ 23360-78 | Шпонка | 2х5х5х28 | В наличии | |
| ГОСТ 23360-78 | Шпонка | 2х5х5х32 | В наличии | |
| ГОСТ 23360-78 | Шпонка | 2х5х5х36 | В наличии | |
| ГОСТ 23360-78 | Шпонка | 2х5х5х40 | В наличии | |
| ГОСТ 23360-78 | Шпонка | 2х5х5х45 | В наличии | |
| ГОСТ 23360-78 | Шпонка | 2х5х5х50 | В наличии | |
| ГОСТ 23360-78 | Шпонка | 2х5х5х56 | В наличии | |
| ГОСТ 23360-78 | Шпонка | 2х6х6х14 | В наличии | |
| ГОСТ 23360-78 | Шпонка | 2х6х6х16 | В наличии | |
| ГОСТ 23360-78 | Шпонка | 2х6х6х18 | В наличии | |
| ГОСТ 23360-78 | Шпонка | 2х6х6х20 | В наличии | |
| ГОСТ 23360-78 | Шпонка | 2х6х6х22 | В наличии | |
| ГОСТ 23360-78 | Шпонка | 2х6х6х25 | В наличии | |
| ГОСТ 23360-78 | Шпонка | 2х6х6х28 | В наличии | |
| ГОСТ 23360-78 | Шпонка | 2х6х6х32 | В наличии | |
| ГОСТ 23360-78 | Шпонка | 2х6х6х36 | В наличии | |
| ГОСТ 23360-78 | Шпонка | 2х6х6х40 | В наличии | |
| ГОСТ 23360-78 | Шпонка | 2х6х6х45 | В наличии | |
| ГОСТ 23360-78 | Шпонка | 2х6х6х50 | В наличии | |
| ГОСТ 23360-78 | Шпонка | 2х6х6х56 | В наличии | |
| ГОСТ 23360-78 | Шпонка | 2х6х6х63 | В наличии | |
| ГОСТ 23360-78 | Шпонка | 2х6х6х70 | В наличии | |
| ГОСТ 23360-78 | Шпонка | 2х7х7х16 | В наличии | |
| ГОСТ 23360-78 | Шпонка | 2х7х7х18 | В наличии | |
| ГОСТ 23360-78 | Шпонка | 2х7х7х20 | В наличии | |
| ГОСТ 23360-78 | Шпонка | 2х7х7х22 | В наличии | |
| ГОСТ 23360-78 | Шпонка | 2х7х7х25 | В наличии | |
| ГОСТ 23360-78 | Шпонка | 2х7х7х28 | В наличии | |
| ГОСТ 23360-78 | Шпонка | 2х7х7х32 | В наличии | |
| ГОСТ 23360-78 | Шпонка | 2х7х7х36 | В наличии | |
| ГОСТ 23360-78 | Шпонка | 2х7х7х40 | В наличии | |
| ГОСТ 23360-78 | Шпонка | 2х7х7х45 | В наличии | |
| ГОСТ 23360-78 | Шпонка | 2х7х7х50 | В наличии | |
| ГОСТ 23360-78 | Шпонка | 2х7х7х56 | В наличии | |
| ГОСТ 23360-78 | Шпонка | 2х7х7х63 | В наличии | |
| ГОСТ 23360-78 | Шпонка | 2х7х7х70 | В наличии | |
| ГОСТ 23360-78 | Шпонка | 2х7х7х80 | В наличии | |
| ГОСТ 23360-78 | Шпонка | 2х8х8х18 | В наличии | |
| ГОСТ 23360-78 | Шпонка | 2х8х8х20 | В наличии | |
| ГОСТ 23360-78 | Шпонка | 2х8х8х22 | В наличии | |
| ГОСТ 23360-78 | Шпонка | 2х8х8х25 | В наличии | |
| ГОСТ 23360-78 | Шпонка | 2х8х8х28 | В наличии | |
| ГОСТ 23360-78 | Шпонка | 2х8х8х32 | В наличии | |
| ГОСТ 23360-78 | Шпонка | 2х8х8х36 | В наличии | |
| ГОСТ 23360-78 | Шпонка | 2х8х8х40 | В наличии | |
| ГОСТ 23360-78 | Шпонка | 2х8х8х45 | В наличии | |
| ГОСТ 23360-78 | Шпонка | 2х8х8х50 | В наличии | |
| ГОСТ 23360-78 | Шпонка | 2х8х8х56 | В наличии | |
| ГОСТ 23360-78 | Шпонка | 2х8х8х63 | В наличии | |
| ГОСТ 23360-78 | Шпонка | 2х8х8х70 | В наличии | |
| ГОСТ 23360-78 | Шпонка | 2х8х8х80 | В наличии | |
| ГОСТ 23360-78 | Шпонка | 2х8х8х90 | В наличии | |
| ГОСТ 23360-78 | Шпонка | 2х10х8х22 | В наличии | |
| ГОСТ 23360-78 | Шпонка | 2х10х8х25 | В наличии | |
| ГОСТ 23360-78 | Шпонка | 2х10х8х28 | В наличии | |
| ГОСТ 23360-78 | Шпонка | 2х10х8х32 | В наличии | |
| ГОСТ 23360-78 | Шпонка | 2х10х8х36 | В наличии | |
| ГОСТ 23360-78 | Шпонка | 2х10х8х40 | В наличии | |
| ГОСТ 23360-78 | Шпонка | 2х10х8х45 | В наличии | |
| ГОСТ 23360-78 | Шпонка | 2х10х8х50 | В наличии | |
| ГОСТ 23360-78 | Шпонка | 2х10х8х56 | В наличии | |
| ГОСТ 23360-78 | Шпонка | 2х10х8х63 | В наличии | |
| ГОСТ 23360-78 | Шпонка | 2х10х8х70 | В наличии | |
| ГОСТ 23360-78 | Шпонка | 2х10х8х80 | В наличии | |
| ГОСТ 23360-78 | Шпонка | 2х10х8х90 | В наличии | |
| ГОСТ 23360-78 | Шпонка | 2х10х8х100 | В наличии | |
| ГОСТ 23360-78 | Шпонка | 2х10х8х110 | В наличии | |
| ГОСТ 23360-78 | Шпонка | 2х12х8х28 | В наличии | |
| ГОСТ 23360-78 | Шпонка | 2х12х8х32 | В наличии | |
| ГОСТ 23360-78 | Шпонка | 2х12х8х36 | В наличии | |
| ГОСТ 23360-78 | Шпонка | 2х12х8х40 | В наличии | |
| ГОСТ 23360-78 | Шпонка | 2х12х8х45 | В наличии | |
| ГОСТ 23360-78 | Шпонка | 2х12х8х50 | В наличии | |
| ГОСТ 23360-78 | Шпонка | 2х12х8х56 | В наличии | |
| ГОСТ 23360-78 | Шпонка | 2х12х8х63 | В наличии | |
| ГОСТ 23360-78 | Шпонка | 2х12х8х70 | В наличии | |
| ГОСТ 23360-78 | Шпонка | 2х12х8х80 | В наличии | |
| ГОСТ 23360-78 | Шпонка | 2х12х8х90 | В наличии | |
| ГОСТ 23360-78 | Шпонка | 2х12х8х100 | В наличии | |
| ГОСТ 23360-78 | Шпонка | 2х12х8х110 | В наличии | |
| ГОСТ 23360-78 | Шпонка | 2х12х8х125 | В наличии | |
| ГОСТ 23360-78 | Шпонка | 2х12х8х140 | В наличии | |
| ГОСТ 23360-78 | Шпонка | 2х14х9х36 | В наличии | |
| ГОСТ 23360-78 | Шпонка | 2х14х9х40 | В наличии | |
| ГОСТ 23360-78 | Шпонка | 2х14х9х45 | В наличии | |
| ГОСТ 23360-78 | Шпонка | 2х14х9х50 | В наличии | |
| ГОСТ 23360-78 | Шпонка | 2х14х9х56 | В наличии | |
| ГОСТ 23360-78 | Шпонка | 2х14х9х63 | В наличии | |
| ГОСТ 23360-78 | Шпонка | 2х14х9х70 | В наличии | |
| ГОСТ 23360-78 | Шпонка | 2х14х9х80 | В наличии | |
| ГОСТ 23360-78 | Шпонка | 2х14х9х90 | В наличии | |
| ГОСТ 23360-78 | Шпонка | 2х14х9х100 | В наличии | |
| ГОСТ 23360-78 | Шпонка | 2х14х9х110 | В наличии | |
| ГОСТ 23360-78 | Шпонка | 2х14х9х125 | В наличии | |
| ГОСТ 23360-78 | Шпонка | 2х14х9х140 | В наличии | |
| ГОСТ 23360-78 | Шпонка | 2х14х9х160 | В наличии | |
| ГОСТ 23360-78 | Шпонка | 2х16х10х45 | В наличии | |
| ГОСТ 23360-78 | Шпонка | 2х16х10х50 | В наличии | |
| ГОСТ 23360-78 | Шпонка | 2х16х10х56 | В наличии | |
| ГОСТ 23360-78 | Шпонка | 2х16х10х63 | В наличии | |
| ГОСТ 23360-78 | Шпонка | 2х16х10х70 | В наличии | |
| ГОСТ 23360-78 | Шпонка | 2х16х10х80 | В наличии | |
| ГОСТ 23360-78 | Шпонка | 2х16х10х90 | В наличии | |
| ГОСТ 23360-78 | Шпонка | 2х16х10х100 | В наличии | |
| ГОСТ 23360-78 | Шпонка | 2х16х10х110 | В наличии | |
| ГОСТ 23360-78 | Шпонка | 2х16х10х125 | В наличии | |
| ГОСТ 23360-78 | Шпонка | 2х16х10х140 | В наличии | |
| ГОСТ 23360-78 | Шпонка | 2х16х10х160 | В наличии | |
| ГОСТ 23360-78 | Шпонка | 2х16х10х180 | В наличии | |
| ГОСТ 23360-78 | Шпонка | 2х18х11х50 | В наличии | |
| ГОСТ 23360-78 | Шпонка | 2х18х11х56 | В наличии | |
| ГОСТ 23360-78 | Шпонка | 2х18х11х63 | В наличии | |
| ГОСТ 23360-78 | Шпонка | 2х18х11х70 | В наличии | |
| ГОСТ 23360-78 | Шпонка | 2х18х11х80 | В наличии | |
| ГОСТ 23360-78 | Шпонка | 2х18х11х90 | В наличии | |
| ГОСТ 23360-78 | Шпонка | 2х18х11х100 | В наличии | |
| ГОСТ 23360-78 | Шпонка | 2х18х11х110 | В наличии | |
| ГОСТ 23360-78 | Шпонка | 2х18х11х125 | В наличии | |
| ГОСТ 23360-78 | Шпонка | 2х18х11х140 | В наличии | |
| ГОСТ 23360-78 | Шпонка | 2х18х11х160 | В наличии | |
| ГОСТ 23360-78 | Шпонка | 2х18х11х180 | В наличии | |
| ГОСТ 23360-78 | Шпонка | 2х18х11х200 | В наличии | |
| ГОСТ 23360-78 | Шпонка | 2х20х12х56 | В наличии | |
| ГОСТ 23360-78 | Шпонка | 2х20х12х63 | В наличии | |
| ГОСТ 23360-78 | Шпонка | 2х20х12х70 | В наличии | |
| ГОСТ 23360-78 | Шпонка | 2х20х12х80 | В наличии | |
| ГОСТ 23360-78 | Шпонка | 2х20х12х90 | В наличии | |
| ГОСТ 23360-78 | Шпонка | 2х20х12х100 | В наличии | |
| ГОСТ 23360-78 | Шпонка | 2х20х12х110 | В наличии | |
| ГОСТ 23360-78 | Шпонка | 2х20х12х125 | В наличии | |
| ГОСТ 23360-78 | Шпонка | 2х20х12х140 | В наличии | |
| ГОСТ 23360-78 | Шпонка | 2х20х12х160 | В наличии | |
| ГОСТ 23360-78 | Шпонка | 2х20х12х180 | В наличии | |
| ГОСТ 23360-78 | Шпонка | 2х20х12х200 | В наличии | |
| ГОСТ 23360-78 | Шпонка | 2х20х12х220 | В наличии | |
| ГОСТ 23360-78 | Шпонка | 2х22х14х63 | В наличии | |
| ГОСТ 23360-78 | Шпонка | 2х22х14х70 | В наличии | |
| ГОСТ 23360-78 | Шпонка | 2х22х14х80 | В наличии | |
| ГОСТ 23360-78 | Шпонка | 2х22х14х90 | В наличии | |
| ГОСТ 23360-78 | Шпонка | 2х22х14х100 | В наличии | |
| ГОСТ 23360-78 | Шпонка | 2х22х14х110 | В наличии | |
| ГОСТ 23360-78 | Шпонка | 2х22х14х125 | В наличии | |
| ГОСТ 23360-78 | Шпонка | 2х22х14х140 | В наличии | |
| ГОСТ 23360-78 | Шпонка | 2х22х14х160 | В наличии | |
| ГОСТ 23360-78 | Шпонка | 2х22х14х180 | В наличии | |
| ГОСТ 23360-78 | Шпонка | 2х22х14х200 | В наличии | |
| ГОСТ 23360-78 | Шпонка | 2х22х14х220 | В наличии | |
| ГОСТ 23360-78 | Шпонка | 2х22х14х250 | В наличии | |
| ГОСТ 23360-78 | Шпонка | 2х24х14х63 | В наличии | |
| ГОСТ 23360-78 | Шпонка | 2х24х14х70 | В наличии | |
| ГОСТ 23360-78 | Шпонка | 2х24х14х80 | В наличии | |
| ГОСТ 23360-78 | Шпонка | 2х24х14х90 | В наличии | |
| ГОСТ 23360-78 | Шпонка | 2х24х14х100 | В наличии | |
| ГОСТ 23360-78 | Шпонка | 2х24х14х110 | В наличии | |
| ГОСТ 23360-78 | Шпонка | 2х24х14х125 | В наличии | |
| ГОСТ 23360-78 | Шпонка | 2х24х14х140 | В наличии | |
| ГОСТ 23360-78 | Шпонка | 2х24х14х160 | В наличии | |
| ГОСТ 23360-78 | Шпонка | 2х24х14х180 | В наличии | |
| ГОСТ 23360-78 | Шпонка | 2х24х14х200 | В наличии | |
| ГОСТ 23360-78 | Шпонка | 2х24х14х220 | В наличии | |
| ГОСТ 23360-78 | Шпонка | 2х24х14х250 | В наличии | |
| ГОСТ 23360-78 | Шпонка | 2х25х14х70 | В наличии | |
| ГОСТ 23360-78 | Шпонка | 2х25х14х90 | В наличии | |
| ГОСТ 23360-78 | Шпонка | 2х25х14х100 | В наличии | |
| ГОСТ 23360-78 | Шпонка | 2х25х14х110 | В наличии | |
| ГОСТ 23360-78 | Шпонка | 2х25х14х125 | В наличии | |
| ГОСТ 23360-78 | Шпонка | 2х25х14х140 | В наличии | |
| ГОСТ 23360-78 | Шпонка | 2х25х14х160 | В наличии | |
| ГОСТ 23360-78 | Шпонка | 2х25х14х180 | В наличии | |
| ГОСТ 23360-78 | Шпонка | 2х25х14х200 | В наличии | |
| ГОСТ 23360-78 | Шпонка | 2х25х14х220 | В наличии | |
| ГОСТ 23360-78 | Шпонка | 2х25х14х250 | В наличии | |
| ГОСТ 23360-78 | Шпонка | 2х25х14х280 | В наличии | |
| ГОСТ 23360-78 | Шпонка | 2х28х16х70 | В наличии | |
| ГОСТ 23360-78 | Шпонка | 2х28х16х80 | В наличии | |
| ГОСТ 23360-78 | Шпонка | 2х28х16х90 | В наличии | |
| ГОСТ 23360-78 | Шпонка | 2х28х16х100 | В наличии | |
| ГОСТ 23360-78 | Шпонка | 2х28х16х110 | В наличии | |
| ГОСТ 23360-78 | Шпонка | 2х28х16х125 | В наличии | |
| ГОСТ 23360-78 | Шпонка | 2х28х16х140 | В наличии | |
| ГОСТ 23360-78 | Шпонка | 2х28х16х160 | В наличии | |
| ГОСТ 23360-78 | Шпонка | 2х28х16х180 | В наличии | |
| ГОСТ 23360-78 | Шпонка | 2х28х16х200 | В наличии | |
| ГОСТ 23360-78 | Шпонка | 2х28х16х220 | В наличии | |
| ГОСТ 23360-78 | Шпонка | 2х28х16х250 | В наличии | |
| ГОСТ 23360-78 | Шпонка | 2х28х16х280 | В наличии | |
| ГОСТ 23360-78 | Шпонка | 2х28х16х320 | В наличии | |
| ГОСТ 23360-78 | Шпонка | 2х32х18х80 | В наличии | |
| ГОСТ 23360-78 | Шпонка | 2х32х18х90 | В наличии | |
| ГОСТ 23360-78 | Шпонка | 2х32х18х100 | В наличии | |
| ГОСТ 23360-78 | Шпонка | 2х32х18х110 | В наличии | |
| ГОСТ 23360-78 | Шпонка | 2х32х18х125 | В наличии | |
| ГОСТ 23360-78 | Шпонка | 2х32х18х140 | В наличии | |
| ГОСТ 23360-78 | Шпонка | 2х32х18х160 | В наличии | |
| ГОСТ 23360-78 | Шпонка | 2х32х18х180 | В наличии | |
| ГОСТ 23360-78 | Шпонка | 2х32х18х200 | В наличии | |
| ГОСТ 23360-78 | Шпонка | 2х32х18х220 | В наличии | |
| ГОСТ 23360-78 | Шпонка | 2х32х18х250 | В наличии | |
| ГОСТ 23360-78 | Шпонка | 2х32х18х280 | В наличии | |
| ГОСТ 23360-78 | Шпонка | 2х32х18х320 | В наличии | |
| ГОСТ 23360-78 | Шпонка | 2х32х18х360 | В наличии | |
| ГОСТ 23360-78 | Шпонка | 2х36х20х90 | В наличии | |
| ГОСТ 23360-78 | Шпонка | 2х36х20х100 | В наличии | |
| ГОСТ 23360-78 | Шпонка | 2х36х20х110 | В наличии | |
| ГОСТ 23360-78 | Шпонка | 2х36х20х125 | В наличии | |
| ГОСТ 23360-78 | Шпонка | 2х36х20х140 | В наличии | |
| ГОСТ 23360-78 | Шпонка | 2х36х20х160 | В наличии | |
| ГОСТ 23360-78 | Шпонка | 2х36х20х180 | В наличии | |
| ГОСТ 23360-78 | Шпонка | 2х36х20х200 | В наличии | |
| ГОСТ 23360-78 | Шпонка | 2х36х20х220 | В наличии | |
| ГОСТ 23360-78 | Шпонка | 2х36х20х250 | В наличии | |
| ГОСТ 23360-78 | Шпонка | 2х36х20х280 | В наличии | |
| ГОСТ 23360-78 | Шпонка | 2х36х20х320 | В наличии | |
| ГОСТ 23360-78 | Шпонка | 2х36х20х360 | В наличии | |
| ГОСТ 23360-78 | Шпонка | 2х36х20х400 | В наличии | |
| ГОСТ 23360-78 | Шпонка | 2х40х22х100 | В наличии | |
| ГОСТ 23360-78 | Шпонка | 2х40х22х110 | В наличии | |
| ГОСТ 23360-78 | Шпонка | 2х40х22х124 | В наличии | |
| ГОСТ 23360-78 | Шпонка | 2х40х22х140 | В наличии | |
| ГОСТ 23360-78 | Шпонка | 2х40х22х160 | В наличии | |
| ГОСТ 23360-78 | Шпонка | 2х40х22х180 | В наличии | |
| ГОСТ 23360-78 | Шпонка | 2х40х22х200 | В наличии | |
| ГОСТ 23360-78 | Шпонка | 2х40х22х220 | В наличии | |
| ГОСТ 23360-78 | Шпонка | 2х40х22х250 | В наличии | |
| ГОСТ 23360-78 | Шпонка | 2х40х22х280 | В наличии | |
| ГОСТ 23360-78 | Шпонка | 2х40х22х320 | В наличии | |
| ГОСТ 23360-78 | Шпонка | 2х40х22х360 | В наличии | |
| ГОСТ 23360-78 | Шпонка | 2х40х22х400 | В наличии | |
| ГОСТ 23360-78 | Шпонка | 2х45х25х110 | В наличии | |
| ГОСТ 23360-78 | Шпонка | 2х45х25х125 | В наличии | |
| ГОСТ 23360-78 | Шпонка | 2х45х25х140 | В наличии | |
| ГОСТ 23360-78 | Шпонка | 2х45х25х160 | В наличии | |
| ГОСТ 23360-78 | Шпонка | 2х45х25х160 | В наличии | |
| ГОСТ 23360-78 | Шпонка | 2х45х25х180 | В наличии | |
| ГОСТ 23360-78 | Шпонка | 2х45х25х200 | В наличии | |
| ГОСТ 23360-78 | Шпонка | 2х45х25х220 | В наличии | |
| ГОСТ 23360-78 | Шпонка | 2х45х25х250 | В наличии | |
| ГОСТ 23360-78 | Шпонка | 2х45х25х280 | В наличии | |
| ГОСТ 23360-78 | Шпонка | 2х45х25х320 | В наличии | |
| ГОСТ 23360-78 | Шпонка | 2х45х25х360 | В наличии | |
| ГОСТ 23360-78 | Шпонка | 2х45х25х400 | В наличии | |
| ГОСТ 23360-78 | Шпонка | 2х50х28х125 | В наличии | |
| ГОСТ 23360-78 | Шпонка | 2х50х28х140 | В наличии | |
| ГОСТ 23360-78 | Шпонка | 2х50х28х160 | В наличии | |
| ГОСТ 23360-78 | Шпонка | 2х50х28х180 | В наличии | |
| ГОСТ 23360-78 | Шпонка | 2х50х28х200 | В наличии | |
| ГОСТ 23360-78 | Шпонка | 2х50х28х220 | В наличии | |
| ГОСТ 23360-78 | Шпонка | 2х50х28х250 | В наличии | |
| ГОСТ 23360-78 | Шпонка | 2х50х28х280 | В наличии | |
| ГОСТ 23360-78 | Шпонка | 2х50х28х320 | В наличии | |
| ГОСТ 23360-78 | Шпонка | 2х50х28х360 | В наличии | |
| ГОСТ 23360-78 | Шпонка | 2х50х28х400 | В наличии | |
| ГОСТ 23360-78 | Шпонка | 2х50х28х450 | В наличии | |
| ГОСТ 23360-78 | Шпонка | 2х50х28х500 | В наличии | |
| ГОСТ 23360-78 | Шпонка | 2х56х32х140 | В наличии | |
| ГОСТ 23360-78 | Шпонка | 2х56х32х160 | В наличии | |
| ГОСТ 23360-78 | Шпонка | 2х56х32х180 | В наличии | |
| ГОСТ 23360-78 | Шпонка | 2х56х32х200 | В наличии | |
| ГОСТ 23360-78 | Шпонка | 2х56х32х220 | В наличии | |
| ГОСТ 23360-78 | Шпонка | 2х56х32х250 | В наличии | |
| ГОСТ 23360-78 | Шпонка | 2х56х32х280 | В наличии | |
| ГОСТ 23360-78 | Шпонка | 2х56х32х320 | В наличии | |
| ГОСТ 23360-78 | Шпонка | 2х56х32х360 | В наличии | |
| ГОСТ 23360-78 | Шпонка | 2х56х32х400 | В наличии | |
| ГОСТ 23360-78 | Шпонка | 2х56х32х450 | В наличии | |
| ГОСТ 23360-78 | Шпонка | 2х56х32х500 | В наличии | |
| ГОСТ 23360-78 | Шпонка | 2х63х32х160 | В наличии | |
| ГОСТ 23360-78 | Шпонка | 2х63х32х180 | В наличии | |
| ГОСТ 23360-78 | Шпонка | 2х63х32х200 | В наличии | |
| ГОСТ 23360-78 | Шпонка | 2х63х32х220 | В наличии | |
| ГОСТ 23360-78 | Шпонка | 2х63х32х250 | В наличии | |
| ГОСТ 23360-78 | Шпонка | 2х63х32х280 | В наличии | |
| ГОСТ 23360-78 | Шпонка | 2х63х32х320 | В наличии | |
| ГОСТ 23360-78 | Шпонка | 2х63х32х360 | В наличии | |
| ГОСТ 23360-78 | Шпонка | 2х63х32х400 | В наличии | |
| ГОСТ 23360-78 | Шпонка | 2х63х32х450 | В наличии | |
| ГОСТ 23360-78 | Шпонка | 2х63х32х500 | В наличии | |
| ГОСТ 23360-78 | Шпонка | 2х70х36х180 | В наличии | |
| ГОСТ 23360-78 | Шпонка | 2х70х36х200 | В наличии | |
| ГОСТ 23360-78 | Шпонка | 2х70х36х220 | В наличии | |
| ГОСТ 23360-78 | Шпонка | 2х70х36х250 | В наличии | |
| ГОСТ 23360-78 | Шпонка | 2х70х36х280 | В наличии | |
| ГОСТ 23360-78 | Шпонка | 2х70х36х320 | В наличии | |
| ГОСТ 23360-78 | Шпонка | 2х70х36х360 | В наличии | |
| ГОСТ 23360-78 | Шпонка | 2х70х36х400 | В наличии | |
| ГОСТ 23360-78 | Шпонка | 2х70х36х450 | В наличии | |
| ГОСТ 23360-78 | Шпонка | 2х70х36х500 | В наличии | |
| ГОСТ 23360-78 | Шпонка | 2х80х40х200 | В наличии | |
| ГОСТ 23360-78 | Шпонка | 2х80х40х220 | В наличии | |
| ГОСТ 23360-78 | Шпонка | 2х80х40х250 | В наличии | |
| ГОСТ 23360-78 | Шпонка | 2х80х40х280 | В наличии | |
| ГОСТ 23360-78 | Шпонка | 2х80х40х320 | В наличии | |
| ГОСТ 23360-78 | Шпонка | 2х80х40х360 | В наличии | |
| ГОСТ 23360-78 | Шпонка | 2х80х40х400 | В наличии | |
| ГОСТ 23360-78 | Шпонка | 2х80х40х450 | В наличии | |
| ГОСТ 23360-78 | Шпонка | 2х80х40х500 | В наличии | |
| ГОСТ 23360-78 | Шпонка | 2х90х45х220 | В наличии | |
| ГОСТ 23360-78 | Шпонка | 2х90х45х250 | В наличии | |
| ГОСТ 23360-78 | Шпонка | 2х90х45х280 | В наличии | |
| ГОСТ 23360-78 | Шпонка | 2х90х45х320 | В наличии | |
| ГОСТ 23360-78 | Шпонка | 2х90х45х360 | В наличии | |
| ГОСТ 23360-78 | Шпонка | 2х90х45х400 | В наличии | |
| ГОСТ 23360-78 | Шпонка | 2х90х45х450 | В наличии | |
| ГОСТ 23360-78 | Шпонка | 2х90х45х500 | В наличии | |
| ГОСТ 23360-78 | Шпонка | 2х100х50х250 | В наличии | |
| ГОСТ 23360-78 | Шпонка | 2х100х50х280 | В наличии | |
| ГОСТ 23360-78 | Шпонка | 2х100х50х320 | В наличии | |
| ГОСТ 23360-78 | Шпонка | 2х100х50х360 | В наличии | |
| ГОСТ 23360-78 | Шпонка | 2х100х50х400 | В наличии | |
| ГОСТ 23360-78 | Шпонка | 2х100х50х450 | В наличии | |
| ГОСТ 23360-78 | Шпонка | 2х100х50х500 | В наличии |
Для изготовителей и поставщиков: Добавить мои товары в базу
Для покупателей: Подать заявку на покупку
| Наименование | Типоразмер | Материал | Количество, шт | Вес, кг |
| Шпонка ГОСТ 23360-78 |
ОСТ 1 30055-84 Накатка кольцевая стержней болт-заклепок из титанового сплава
ОСТ 1 31076-80 Маркировка крепежных изделий взамен НОРМАЛЬ 176АТ
ОСТ 1 31076-80: Маркировка крепежных изделий (взамен НОРМАЛЬ 176АТ)
ОСТ 1 39502-77 Стопорение болтов, винтов, шпилек, штифтов и гаек
ОСТ 1 39503-77 Длины болтов и винтов
ОСТ 1 39504-79 Головки шестигранные болтов и винтов
ОСТ 1 51730-79 Оснастка для формообразования концов труб тяг управления из сплава Д16Т
ОСТ 1 51731-79 Оснастка для формообразования концов труб тяг управления из сплава Д16Т
ОСТ 1.41001-79 Диаметры отверстий под нарезание резьбы метрической по нормали 754АТ
ОСТ 1.41002-79 Диаметры стержней под нарезание резьбы метрической по нормали 754АТ и ОСТ 1.00039-73
ОСТ 92-0762-72 Болты, винты из титановых сплавов
ОСТ 92-1179-77 Детали и сборочные единицы из сталей марок 07Х16Н6 и 08Х17Н5М3
ОСТ 92-8653-75 по ОСТ 92-8674-75 Соединения трубопроводов по внутреннему конусу
ОСТ-1-33102-80 Взамен нормали 102АТУ Гайки ОСТ-1-33102-80
Отраслевая нормаль 214АТ В замен нормали 214МТ55 метрическая резьбой со свободной посадкой
Отраслевая нормаль 714М55 pdf Кольца плоские ,стопорные технические условия
Отраслевая нормаль авиационной техники 101АТУ Взамен 201СТУ51
2026 «Быстрометиз». Мы не интернет-магазин. Информация о наличии и стоимости продукции не является публичной офертой.
Задайте вопрос нашим специалистам