ОСТ 1 11856-76 Болты с уменьшенной потайной головкой 90 градусов из титанового сплава

ОСТ 1 11856-76 болты с уменьшенной потайной головкой углом 90 градусов из титанового сплава

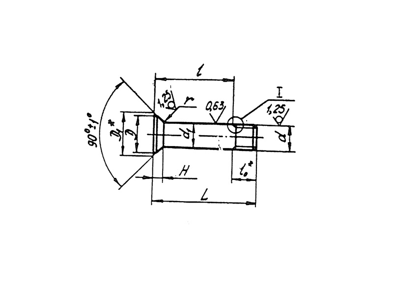
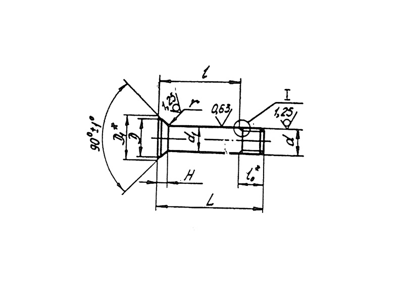
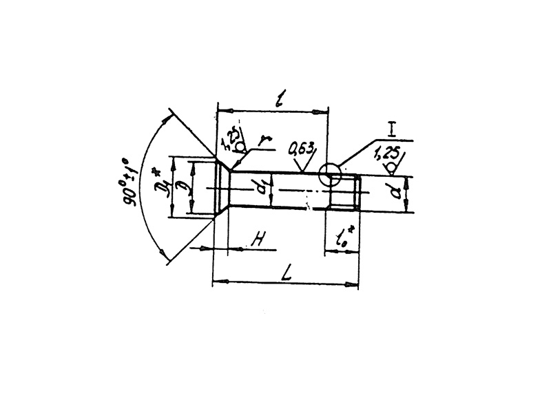
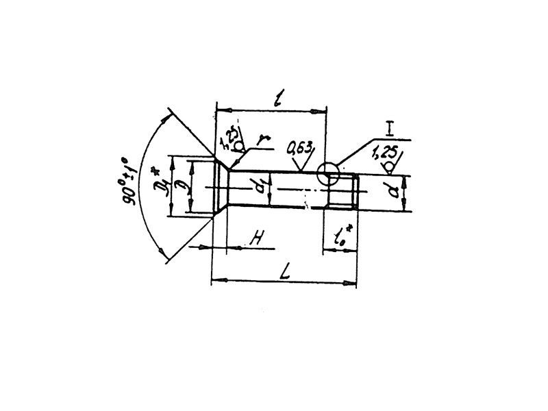
     Болты по ОСТ 1 11856-76 – это особый крепеж, предназначенный для соединения с натягом пакетов из алюминиевых сплавов.

КОНСТРУКЦИЯ И ТЕХНИЧЕСКИЕ ОСОБЕННОСТИ

     Конструкция болта состоит из уменьшенной потайной головкой и цилиндрического стержня с резьбой.

     Материал изготовления: титановый сплав ВТ16.

     Материал покрытия: без покрытия.

ОСТ 1 11856-76.pdf

Пример наименования и обозначения болта с уменьшенной потайной головкой углом 90 градусов из титанового сплава с резьбой М6 и длиной L=24 мм:

Болт 6-24-ОСТ 1 11856-76

Болт
Наименование метиза
6
Диаметр резьбы
24
Длина
ОСТ 1 11856-76
Нормативно-технический документ

ПРИМЕНЕНИЕ

     Данные болты используются во многих отраслях промышленности.

АНАЛОГИ

ОСТ/ГОСТНормальНаименованиеТипоразмерНа складе
ОСТ 1 11856-76Болт5х13В наличии
ОСТ 1 11856-76Болт5х14В наличии
ОСТ 1 11856-76Болт5х15В наличии
ОСТ 1 11856-76Болт5х16В наличии
ОСТ 1 11856-76Болт5х17В наличии
ОСТ 1 11856-76Болт5х18В наличии
ОСТ 1 11856-76Болт5х19В наличии
ОСТ 1 11856-76Болт5х20В наличии
ОСТ 1 11856-76Болт5х21В наличии
ОСТ 1 11856-76Болт5х22В наличии
ОСТ 1 11856-76Болт5х23В наличии
ОСТ 1 11856-76Болт5х24В наличии
ОСТ 1 11856-76Болт5х25В наличии
ОСТ 1 11856-76Болт5х26В наличии
ОСТ 1 11856-76Болт5х27В наличии
ОСТ 1 11856-76Болт5х28В наличии
ОСТ 1 11856-76Болт5х29В наличии
ОСТ 1 11856-76Болт5х30В наличии
ОСТ 1 11856-76Болт5х31В наличии
ОСТ 1 11856-76Болт5х32В наличии
ОСТ 1 11856-76Болт5х33В наличии
ОСТ 1 11856-76Болт6х14В наличии
ОСТ 1 11856-76Болт6х15В наличии
ОСТ 1 11856-76Болт6х16В наличии
ОСТ 1 11856-76Болт6х17В наличии
ОСТ 1 11856-76Болт6х18В наличии
ОСТ 1 11856-76Болт6х19В наличии
ОСТ 1 11856-76Болт6х20В наличии
ОСТ 1 11856-76Болт6х21В наличии
ОСТ 1 11856-76Болт6х22В наличии
ОСТ 1 11856-76Болт6х23В наличии
ОСТ 1 11856-76Болт6х24В наличии
ОСТ 1 11856-76Болт6х25В наличии
ОСТ 1 11856-76Болт6х26В наличии
ОСТ 1 11856-76Болт6х27В наличии
ОСТ 1 11856-76Болт6х28В наличии
ОСТ 1 11856-76Болт6х29В наличии
ОСТ 1 11856-76Болт6х30В наличии
ОСТ 1 11856-76Болт6х31В наличии
ОСТ 1 11856-76Болт6х32В наличии
ОСТ 1 11856-76Болт6х33В наличии
ОСТ 1 11856-76Болт6х34В наличии
ОСТ 1 11856-76Болт6х35В наличии
ОСТ 1 11856-76Болт6х36В наличии
ОСТ 1 11856-76Болт6х37В наличии
ОСТ 1 11856-76Болт6х38В наличии
ОСТ 1 11856-76Болт8х17В наличии
ОСТ 1 11856-76Болт8х18В наличии
ОСТ 1 11856-76Болт8х19В наличии
ОСТ 1 11856-76Болт8х20В наличии
ОСТ 1 11856-76Болт8х21В наличии
ОСТ 1 11856-76Болт8х22В наличии
ОСТ 1 11856-76Болт8х23В наличии
ОСТ 1 11856-76Болт8х24В наличии
ОСТ 1 11856-76Болт8х25В наличии
ОСТ 1 11856-76Болт8х26В наличии
ОСТ 1 11856-76Болт8х27В наличии
ОСТ 1 11856-76Болт8х28В наличии
ОСТ 1 11856-76Болт8х29В наличии
ОСТ 1 11856-76Болт8х30В наличии
ОСТ 1 11856-76Болт8х31В наличии
ОСТ 1 11856-76Болт8х32В наличии
ОСТ 1 11856-76Болт8х33В наличии
ОСТ 1 11856-76Болт8х34В наличии
ОСТ 1 11856-76Болт8х35В наличии
ОСТ 1 11856-76Болт8х36В наличии
ОСТ 1 11856-76Болт8х37В наличии
ОСТ 1 11856-76Болт8х38В наличии
ОСТ 1 11856-76Болт10х20В наличии
ОСТ 1 11856-76Болт10х21В наличии
ОСТ 1 11856-76Болт10х22В наличии
ОСТ 1 11856-76Болт10х23В наличии
ОСТ 1 11856-76Болт10х24В наличии
ОСТ 1 11856-76Болт10х25В наличии
ОСТ 1 11856-76Болт10х26В наличии
ОСТ 1 11856-76Болт10х27В наличии
ОСТ 1 11856-76Болт10х28В наличии
ОСТ 1 11856-76Болт10х29В наличии
ОСТ 1 11856-76Болт10х30В наличии
ОСТ 1 11856-76Болт10х31В наличии
ОСТ 1 11856-76Болт10х32В наличии
ОСТ 1 11856-76Болт10х33В наличии
ОСТ 1 11856-76Болт10х34В наличии
ОСТ 1 11856-76Болт10х35В наличии
ОСТ 1 11856-76Болт10х36В наличии
ОСТ 1 11856-76Болт10х37В наличии
ОСТ 1 11856-76Болт10х38В наличии
ОСТ 1 11856-76Болт6х39В наличии
ОСТ 1 11856-76Болт8х39В наличии
ОСТ 1 11856-76Болт8х40В наличии
ОСТ 1 11856-76Болт8х41В наличии
ОСТ 1 11856-76Болт8х42В наличии
ОСТ 1 11856-76Болт8х43В наличии
ОСТ 1 11856-76Болт8х44В наличии
ОСТ 1 11856-76Болт8х45В наличии
ОСТ 1 11856-76Болт8х46В наличии
ОСТ 1 11856-76Болт8х47В наличии
ОСТ 1 11856-76Болт8х48В наличии
ОСТ 1 11856-76Болт8х49В наличии
ОСТ 1 11856-76Болт8х50В наличии
ОСТ 1 11856-76Болт8х51В наличии
ОСТ 1 11856-76Болт10х39В наличии
ОСТ 1 11856-76Болт10х40В наличии
ОСТ 1 11856-76Болт10х41В наличии
ОСТ 1 11856-76Болт10х42В наличии
ОСТ 1 11856-76Болт10х43В наличии
ОСТ 1 11856-76Болт10х44В наличии
ОСТ 1 11856-76Болт10х45В наличии
ОСТ 1 11856-76Болт10х46В наличии
ОСТ 1 11856-76Болт10х47В наличии
ОСТ 1 11856-76Болт10х48В наличии
ОСТ 1 11856-76Болт10х49В наличии
ОСТ 1 11856-76Болт10х50В наличии
ОСТ 1 11856-76Болт10х51В наличии
ОСТ 1 11856-76Болт10х52В наличии
ОСТ 1 11856-76Болт10х53В наличии
ОСТ 1 11856-76Болт10х54В наличии
ОСТ 1 11856-76Болт10х55В наличии
ОСТ 1 11856-76Болт10х56В наличии
ОСТ 1 11856-76Болт10х57В наличии
ОСТ 1 11856-76Болт10х58В наличии
ОСТ 1 11856-76Болт10х59В наличии
ОСТ 1 11856-76Болт10х60В наличии
ОСТ 1 11856-76Болт10х61В наличии
ОСТ 1 11856-76Болт10х62В наличии
ОСТ 1 11856-76Болт10х63В наличии

Для изготовителей и поставщиков: Добавить мои товары в базу

Для покупателей: Подать заявку на покупку

НаименованиеТипоразмерМатериалКоличество, штВес, кг
Болт ОСТ 1 11856-76
О

ОСТ 1 30055-84 Накатка кольцевая стержней болт-заклепок из титанового сплава

ОСТ 1 31076-80 Маркировка крепежных изделий взамен НОРМАЛЬ 176АТ

ОСТ 1 31076-80: Маркировка крепежных изделий (взамен НОРМАЛЬ 176АТ)

ОСТ 1 38016-80 Футорки

ОСТ 1 38020-82 Втулки

ОСТ 1 39502-77 Стопорение болтов, винтов, шпилек, штифтов и гаек

ОСТ 1 39503-77 Длины болтов и винтов

ОСТ 1 39504-79 Головки шестигранные болтов и винтов

ОСТ 1 41471-79 Формообразование концов труб тяг управления из сплава Д16Т. Типовой технологический процесс

ОСТ 1 51730-79 Оснастка для формообразования концов труб тяг управления из сплава Д16Т

ОСТ 1 51731-79 Оснастка для формообразования концов труб тяг управления из сплава Д16Т

ОСТ 1.41001-79 Диаметры отверстий под нарезание резьбы метрической по нормали 754АТ

ОСТ 1.41002-79 Диаметры стержней под нарезание резьбы метрической по нормали 754АТ и ОСТ 1.00039-73

ОСТ 92-0762-72 Болты, винты из титановых сплавов

ОСТ 92-0912-69 Детали из высокопрочных углеродистых легированных и высоколегированных сталей. ОСТ 92-0912-69

ОСТ 92-1130-85 Детали стальные точные

ОСТ 92-1179-77 Детали и сборочные единицы из сталей марок 07Х16Н6 и 08Х17Н5М3

ОСТ 92-8653-75 по ОСТ 92-8674-75 Соединения трубопроводов по внутреннему конусу

ОСТ-1-33102-80 Взамен нормали 102АТУ Гайки ОСТ-1-33102-80

Отраслевая нормаль 214АТ В замен нормали 214МТ55 метрическая резьбой со свободной посадкой

Отраслевая нормаль 714М55 pdf Кольца плоские ,стопорные технические условия

Отраслевая нормаль авиационной техники 101АТУ Взамен 201СТУ51

Отраслевая нормаль авиационной техники. Нормаль 722АТ.

Р

РЕЗЬБА МЕТРИЧЕСКАЯ

Резьба метрическая усиленная тугой посадкой сталь в алюминиевые и магниевые сплавы. Нормаль 254АТ взамен нормальный 154МТ46

Резьба метрическая. Основные размеры и допуски. Отраслевая нормаль 257АТ взамен 57АТ50 взамен 153МТ54.

РЕЗЬБА ТРАПЕЦЕИДАЛЬНАЯ

РЕЗЬБА ТРУБНАЯ ЦИЛИНДРИЧЕСКАЯ

РЕЗЬБА УПОРНАЯ

Резьба усиленная метрическая тугой посадкой сталь сталь система вала настоящая норма распространяется на резьбу усиленную метрическую тугой посадкой для сопрягаемых материалов сталь в сталь. Нормаль 122МТ53 взамен нормали 122МТ51

Резьба усиленная метрическая тугой посадкой сталь сталь система вала настоящая норма распространяется на резьбу усиленную метрическую тугой посадкой для сопрягаемых материалов сталь в сталь. Нормаль 122МТ53 взамен нормали 122МТ51

Резьбовые соединения. Резьба метрическая с натягом по посадкам 2Н5Д и 2Н5С Отраслевой стандарт ОСТ 1 04065–92

Оформите заказ или получите консультацию