ОСТ 1 12081-75 Обтюраторы

ОСТ 1 12081-75 ОБТЮРАТОРЫ

     Обтюраторы по ОСТ 1 12081-75 - это специальный крепеж, он применяется в амортизаторах шасси. Взамен нормалей 5697А, 819АТ.

КОНСТРУКЦИЯ И ТЕХНИЧЕСКИЕ ОСОБЕННОСТИ

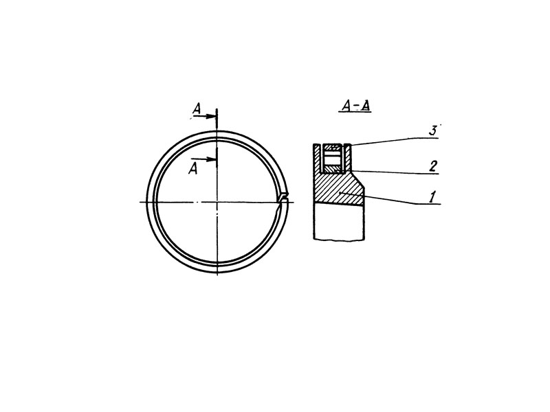
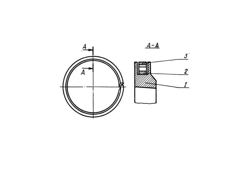
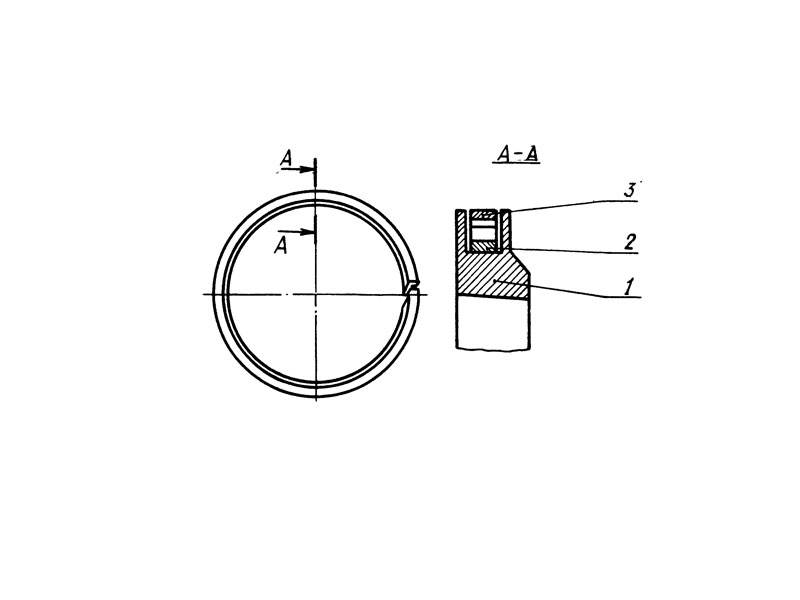
     Конструкция состоит из кольца с разрезом, ленты пружинящей и кольца.

     Материал изготовления: сталь.

     Материал покрытия: без покрытия.

ОСТ 1 12081-75.pdf

Пример наименования и обозначения обтюратора типоразмера 1:

Обтюратор 1-ОСТ 1 12081-75

Обтюратор
Наименование метиза
1
Типоразмер
ОСТ 1 12081-75
Нормативно-технический документ

ПРИМЕНЕНИЕ

     Данные обтюраторы используются в самолетных шасси.

АНАЛОГИ

Нормали 5697А, 819АТ.

ОСТ/ГОСТНормальНаименованиеТипоразмерНа складе
ОСТ 1 12081-755697А, 819АТОбтюратор1В наличии
ОСТ 1 12081-755697А, 819АТОбтюратор2В наличии
ОСТ 1 12081-755697А, 819АТОбтюратор3В наличии
ОСТ 1 12081-755697А, 819АТОбтюратор4В наличии
ОСТ 1 12081-755697А, 819АТОбтюратор5В наличии
ОСТ 1 12081-755697А, 819АТОбтюратор6В наличии
ОСТ 1 12081-755697А, 819АТОбтюратор7В наличии
ОСТ 1 12081-755697А, 819АТОбтюратор8В наличии
ОСТ 1 12081-755697А, 819АТОбтюратор9В наличии
ОСТ 1 12081-755697А, 819АТОбтюратор10В наличии
ОСТ 1 12081-755697А, 819АТОбтюратор11В наличии
ОСТ 1 12081-755697А, 819АТОбтюратор12В наличии
ОСТ 1 12081-755697А, 819АТОбтюратор13В наличии
ОСТ 1 12081-755697А, 819АТОбтюратор14В наличии
ОСТ 1 12081-755697А, 819АТОбтюратор15В наличии
ОСТ 1 12081-755697А, 819АТОбтюратор16В наличии
ОСТ 1 12081-755697А, 819АТОбтюратор17В наличии
ОСТ 1 12081-755697А, 819АТОбтюратор18В наличии
ОСТ 1 12081-755697А, 819АТОбтюратор19В наличии
ОСТ 1 12081-755697А, 819АТОбтюратор20В наличии
ОСТ 1 12081-755697А, 819АТОбтюратор21В наличии
ОСТ 1 12081-755697А, 819АТОбтюратор22В наличии
ОСТ 1 12081-755697А, 819АТОбтюратор23В наличии
ОСТ 1 12081-755697А, 819АТОбтюратор24В наличии

Для изготовителей и поставщиков: Добавить мои товары в базу

Для покупателей: Подать заявку на покупку

НаименованиеТипоразмерМатериалКоличество, штВес, кг
Обтюратор ОСТ 1 12081-75 5697А, 819АТ
О

ОСТ 1 30055-84 Накатка кольцевая стержней болт-заклепок из титанового сплава

ОСТ 1 31076-80 Маркировка крепежных изделий взамен НОРМАЛЬ 176АТ

ОСТ 1 31076-80: Маркировка крепежных изделий (взамен НОРМАЛЬ 176АТ)

ОСТ 1 38016-80 Футорки

ОСТ 1 38020-82 Втулки

ОСТ 1 39502-77 Стопорение болтов, винтов, шпилек, штифтов и гаек

ОСТ 1 39503-77 Длины болтов и винтов

ОСТ 1 39504-79 Головки шестигранные болтов и винтов

ОСТ 1 41471-79 Формообразование концов труб тяг управления из сплава Д16Т. Типовой технологический процесс

ОСТ 1 51730-79 Оснастка для формообразования концов труб тяг управления из сплава Д16Т

ОСТ 1 51731-79 Оснастка для формообразования концов труб тяг управления из сплава Д16Т

ОСТ 1.41001-79 Диаметры отверстий под нарезание резьбы метрической по нормали 754АТ

ОСТ 1.41002-79 Диаметры стержней под нарезание резьбы метрической по нормали 754АТ и ОСТ 1.00039-73

ОСТ 92-0762-72 Болты, винты из титановых сплавов

ОСТ 92-0912-69 Детали из высокопрочных углеродистых легированных и высоколегированных сталей. ОСТ 92-0912-69

ОСТ 92-1179-77 Детали и сборочные единицы из сталей марок 07Х16Н6 и 08Х17Н5М3

ОСТ 92-8653-75 по ОСТ 92-8674-75 Соединения трубопроводов по внутреннему конусу

ОСТ-1-33102-80 Взамен нормали 102АТУ Гайки ОСТ-1-33102-80

Отраслевая нормаль 214АТ В замен нормали 214МТ55 метрическая резьбой со свободной посадкой

Отраслевая нормаль 714М55 pdf Кольца плоские ,стопорные технические условия

Отраслевая нормаль авиационной техники 101АТУ Взамен 201СТУ51

Отраслевая нормаль авиационной техники. Нормаль 722АТ.

Р

РЕЗЬБА МЕТРИЧЕСКАЯ

Резьба метрическая усиленная тугой посадкой сталь в алюминиевые и магниевые сплавы. Нормаль 254АТ взамен нормальный 154МТ46

Резьба метрическая. Основные размеры и допуски. Отраслевая нормаль 257АТ взамен 57АТ50 взамен 153МТ54.

РЕЗЬБА ТРАПЕЦЕИДАЛЬНАЯ

РЕЗЬБА ТРУБНАЯ ЦИЛИНДРИЧЕСКАЯ

РЕЗЬБА УПОРНАЯ

Резьба усиленная метрическая тугой посадкой сталь сталь система вала настоящая норма распространяется на резьбу усиленную метрическую тугой посадкой для сопрягаемых материалов сталь в сталь. Нормаль 122МТ53 взамен нормали 122МТ51

Резьба усиленная метрическая тугой посадкой сталь сталь система вала настоящая норма распространяется на резьбу усиленную метрическую тугой посадкой для сопрягаемых материалов сталь в сталь. Нормаль 122МТ53 взамен нормали 122МТ51

Резьбовые соединения. Резьба метрическая с натягом по посадкам 2Н5Д и 2Н5С Отраслевой стандарт ОСТ 1 04065–92

Оформите заказ или получите консультацию