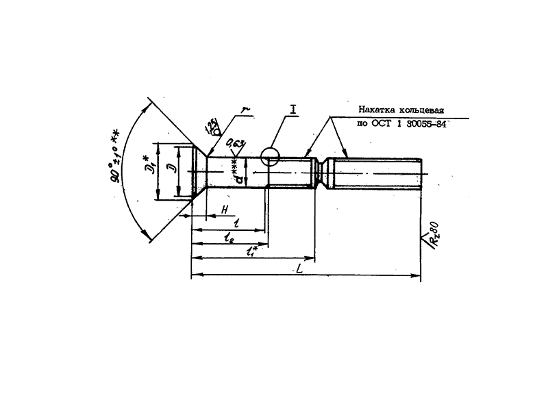
Ост 1 30048-87 стержни болт-заклепок с потайной головкой 90 градусов из титанового сплава для соединений с натягом
Стержни болт-заклепок по ОСТ 1 30048-87 – это специальный крепеж, предназначенный для выполнения соединений с натягом в пакетах из алюминиевых сплавов и эксплуатации на срез.
КОНСТРУКЦИЯ И ТЕХНИЧЕСКИЕ ОСОБЕННОСТИ
Конструкция состоит из цилиндрического стержня с потайной головкой.
Материал изготовления: титановый сплав ВТ16.
Материал покрытия: Ан.Окс 2-3.
Пример наименования и обозначения стержня болт-заклепки с потайной головкой 90 градусов из титанового сплава для соединений с натягом, диаметром d=6 мм и длиной L=45 мм, анодированного:
Стержень 6-45-Ан.Окс-ОСТ 1 30048-87
ПРИМЕНЕНИЕ
Настоящий стандарт распространяется на стержни болт-заклепок с потайной головкой 90 градусов из титанового сплава для соединений с натягом.
АНАЛОГИ
| ОСТ/ГОСТ | Нормаль | Наименование | Типоразмер | На складе |
| ОСТ 1 30048-87 | Стержень с хвостовиком | 5х34 | В наличии | |
| ОСТ 1 30048-87 | Стержень с хвостовиком | 5х36 | В наличии | |
| ОСТ 1 30048-87 | Стержень с хвостовиком | 5х37 | В наличии | |
| ОСТ 1 30048-87 | Стержень с хвостовиком | 5х39 | В наличии | |
| ОСТ 1 30048-87 | Стержень с хвостовиком | 5х40 | В наличии | |
| ОСТ 1 30048-87 | Стержень с хвостовиком | 5х42 | В наличии | |
| ОСТ 1 30048-87 | Стержень с хвостовиком | 5х43 | В наличии | |
| ОСТ 1 30048-87 | Стержень с хвостовиком | 5х45 | В наличии | |
| ОСТ 1 30048-87 | Стержень с хвостовиком | 5х46 | В наличии | |
| ОСТ 1 30048-87 | Стержень с хвостовиком | 5х48 | В наличии | |
| ОСТ 1 30048-87 | Стержень с хвостовиком | 5х49 | В наличии | |
| ОСТ 1 30048-87 | Стержень с хвостовиком | 5х51 | В наличии | |
| ОСТ 1 30048-87 | Стержень с хвостовиком | 5х52 | В наличии | |
| ОСТ 1 30048-87 | Стержень с хвостовиком | 5х54 | В наличии | |
| ОСТ 1 30048-87 | Стержень с хвостовиком | 6х36 | В наличии | |
| ОСТ 1 30048-87 | Стержень с хвостовиком | 6х37 | В наличии | |
| ОСТ 1 30048-87 | Стержень с хвостовиком | 6х39 | В наличии | |
| ОСТ 1 30048-87 | Стержень с хвостовиком | 6х40 | В наличии | |
| ОСТ 1 30048-87 | Стержень с хвостовиком | 6х42 | В наличии | |
| ОСТ 1 30048-87 | Стержень с хвостовиком | 6х43 | В наличии | |
| ОСТ 1 30048-87 | Стержень с хвостовиком | 6х45 | В наличии | |
| ОСТ 1 30048-87 | Стержень с хвостовиком | 6х46 | В наличии | |
| ОСТ 1 30048-87 | Стержень с хвостовиком | 6х48 | В наличии | |
| ОСТ 1 30048-87 | Стержень с хвостовиком | 6х49 | В наличии | |
| ОСТ 1 30048-87 | Стержень с хвостовиком | 6х51 | В наличии | |
| ОСТ 1 30048-87 | Стержень с хвостовиком | 6х52 | В наличии | |
| ОСТ 1 30048-87 | Стержень с хвостовиком | 6х54 | В наличии | |
| ОСТ 1 30048-87 | Стержень с хвостовиком | 6х61 | В наличии | |
| ОСТ 1 30048-87 | Стержень с хвостовиком | 6х63 | В наличии | |
| ОСТ 1 30048-87 | Стержень с хвостовиком | 6х64 | В наличии | |
| ОСТ 1 30048-87 | Стержень с хвостовиком | 6х66 | В наличии | |
| ОСТ 1 30048-87 | Стержень с хвостовиком | 8х48 | В наличии | |
| ОСТ 1 30048-87 | Стержень с хвостовиком | 8х49 | В наличии | |
| ОСТ 1 30048-87 | Стержень с хвостовиком | 8х51 | В наличии | |
| ОСТ 1 30048-87 | Стержень с хвостовиком | 8х52 | В наличии | |
| ОСТ 1 30048-87 | Стержень с хвостовиком | 8х54 | В наличии | |
| ОСТ 1 30048-87 | Стержень с хвостовиком | 8х55 | В наличии | |
| ОСТ 1 30048-87 | Стержень с хвостовиком | 8х57 | В наличии | |
| ОСТ 1 30048-87 | Стержень с хвостовиком | 8х58 | В наличии | |
| ОСТ 1 30048-87 | Стержень с хвостовиком | 8х60 | В наличии | |
| ОСТ 1 30048-87 | Стержень с хвостовиком | 8х61 | В наличии | |
| ОСТ 1 30048-87 | Стержень с хвостовиком | 8х63 | В наличии | |
| ОСТ 1 30048-87 | Стержень с хвостовиком | 8х64 | В наличии | |
| ОСТ 1 30048-87 | Стержень с хвостовиком | 8х66 | В наличии | |
| ОСТ 1 30048-87 | Стержень с хвостовиком | 8х67 | В наличии | |
| ОСТ 1 30048-87 | Стержень с хвостовиком | 8х69 | В наличии | |
| ОСТ 1 30048-87 | Стержень с хвостовиком | 8х70 | В наличии | |
| ОСТ 1 30048-87 | Стержень с хвостовиком | 8х72 | В наличии | |
| ОСТ 1 30048-87 | Стержень с хвостовиком | 8х73 | В наличии | |
| ОСТ 1 30048-87 | Стержень с хвостовиком | 8х75 | В наличии | |
| ОСТ 1 30048-87 | Стержень с хвостовиком | 8х81 | В наличии | |
| ОСТ 1 30048-87 | Стержень с хвостовиком | 8х82 | В наличии | |
| ОСТ 1 30048-87 | Стержень с хвостовиком | 8х84 | В наличии | |
| ОСТ 1 30048-87 | Стержень с хвостовиком | 10х54 | В наличии | |
| ОСТ 1 30048-87 | Стержень с хвостовиком | 10х55 | В наличии | |
| ОСТ 1 30048-87 | Стержень с хвостовиком | 10х57 | В наличии | |
| ОСТ 1 30048-87 | Стержень с хвостовиком | 10х58 | В наличии | |
| ОСТ 1 30048-87 | Стержень с хвостовиком | 10х60 | В наличии | |
| ОСТ 1 30048-87 | Стержень с хвостовиком | 10х61 | В наличии | |
| ОСТ 1 30048-87 | Стержень с хвостовиком | 10х63 | В наличии | |
| ОСТ 1 30048-87 | Стержень с хвостовиком | 10х64 | В наличии | |
| ОСТ 1 30048-87 | Стержень с хвостовиком | 10х66 | В наличии | |
| ОСТ 1 30048-87 | Стержень с хвостовиком | 10х67 | В наличии | |
| ОСТ 1 30048-87 | Стержень с хвостовиком | 10х69 | В наличии | |
| ОСТ 1 30048-87 | Стержень с хвостовиком | 10х70 | В наличии | |
| ОСТ 1 30048-87 | Стержень с хвостовиком | 10х72 | В наличии | |
| ОСТ 1 30048-87 | Стержень с хвостовиком | 10х73 | В наличии | |
| ОСТ 1 30048-87 | Стержень с хвостовиком | 10х75 | В наличии | |
| ОСТ 1 30048-87 | Стержень с хвостовиком | 10х76 | В наличии | |
| ОСТ 1 30048-87 | Стержень с хвостовиком | 10х78 | В наличии | |
| ОСТ 1 30048-87 | Стержень с хвостовиком | 10х79 | В наличии | |
| ОСТ 1 30048-87 | Стержень с хвостовиком | 10х81 | В наличии | |
| ОСТ 1 30048-87 | Стержень с хвостовиком | 10х82 | В наличии | |
| ОСТ 1 30048-87 | Стержень с хвостовиком | 10х84 | В наличии | |
| ОСТ 1 30048-87 | Стержень с хвостовиком | 10х91 | В наличии | |
| ОСТ 1 30048-87 | Стержень с хвостовиком | 10х93 | В наличии | |
| ОСТ 1 30048-87 | Стержень с хвостовиком | 10х94 | В наличии | |
| ОСТ 1 30048-87 | Стержень с хвостовиком | 10х100 | В наличии | |
| ОСТ 1 30048-87 | Стержень с хвостовиком | 10х102 | В наличии | |
| ОСТ 1 30048-87 | Стержень с хвостовиком | 10х103 | В наличии | |
| ОСТ 1 30048-87 | Стержень без хвостовика | 5х34 | В наличии | |
| ОСТ 1 30048-87 | Стержень без хвостовика | 5х36 | В наличии | |
| ОСТ 1 30048-87 | Стержень без хвостовика | 5х37 | В наличии | |
| ОСТ 1 30048-87 | Стержень без хвостовика | 5х39 | В наличии | |
| ОСТ 1 30048-87 | Стержень без хвостовика | 5х40 | В наличии | |
| ОСТ 1 30048-87 | Стержень без хвостовика | 5х42 | В наличии | |
| ОСТ 1 30048-87 | Стержень без хвостовика | 5х43 | В наличии | |
| ОСТ 1 30048-87 | Стержень без хвостовика | 5х45 | В наличии | |
| ОСТ 1 30048-87 | Стержень без хвостовика | 5х46 | В наличии | |
| ОСТ 1 30048-87 | Стержень без хвостовика | 5х48 | В наличии | |
| ОСТ 1 30048-87 | Стержень без хвостовика | 5х49 | В наличии | |
| ОСТ 1 30048-87 | Стержень без хвостовика | 5х51 | В наличии | |
| ОСТ 1 30048-87 | Стержень без хвостовика | 5х52 | В наличии | |
| ОСТ 1 30048-87 | Стержень без хвостовика | 5х54 | В наличии | |
| ОСТ 1 30048-87 | Стержень без хвостовика | 6х36 | В наличии | |
| ОСТ 1 30048-87 | Стержень без хвостовика | 6х37 | В наличии | |
| ОСТ 1 30048-87 | Стержень без хвостовика | 6х39 | В наличии | |
| ОСТ 1 30048-87 | Стержень без хвостовика | 6х40 | В наличии | |
| ОСТ 1 30048-87 | Стержень без хвостовика | 6х42 | В наличии | |
| ОСТ 1 30048-87 | Стержень без хвостовика | 6х43 | В наличии | |
| ОСТ 1 30048-87 | Стержень без хвостовика | 6х45 | В наличии | |
| ОСТ 1 30048-87 | Стержень без хвостовика | 6х46 | В наличии | |
| ОСТ 1 30048-87 | Стержень без хвостовика | 6х48 | В наличии | |
| ОСТ 1 30048-87 | Стержень без хвостовика | 6х49 | В наличии | |
| ОСТ 1 30048-87 | Стержень без хвостовика | 6х51 | В наличии | |
| ОСТ 1 30048-87 | Стержень без хвостовика | 6х52 | В наличии | |
| ОСТ 1 30048-87 | Стержень без хвостовика | 6х54 | В наличии | |
| ОСТ 1 30048-87 | Стержень без хвостовика | 6х61 | В наличии | |
| ОСТ 1 30048-87 | Стержень без хвостовика | 6х63 | В наличии | |
| ОСТ 1 30048-87 | Стержень без хвостовика | 6х64 | В наличии | |
| ОСТ 1 30048-87 | Стержень без хвостовика | 6х66 | В наличии | |
| ОСТ 1 30048-87 | Стержень без хвостовика | 8х48 | В наличии | |
| ОСТ 1 30048-87 | Стержень без хвостовика | 8х49 | В наличии | |
| ОСТ 1 30048-87 | Стержень без хвостовика | 8х51 | В наличии | |
| ОСТ 1 30048-87 | Стержень без хвостовика | 8х52 | В наличии | |
| ОСТ 1 30048-87 | Стержень без хвостовика | 8х54 | В наличии | |
| ОСТ 1 30048-87 | Стержень без хвостовика | 8х55 | В наличии | |
| ОСТ 1 30048-87 | Стержень без хвостовика | 8х57 | В наличии | |
| ОСТ 1 30048-87 | Стержень без хвостовика | 8х58 | В наличии | |
| ОСТ 1 30048-87 | Стержень без хвостовика | 8х60 | В наличии | |
| ОСТ 1 30048-87 | Стержень без хвостовика | 8х61 | В наличии | |
| ОСТ 1 30048-87 | Стержень без хвостовика | 8х63 | В наличии | |
| ОСТ 1 30048-87 | Стержень без хвостовика | 8х64 | В наличии | |
| ОСТ 1 30048-87 | Стержень без хвостовика | 8х66 | В наличии | |
| ОСТ 1 30048-87 | Стержень без хвостовика | 8х67 | В наличии | |
| ОСТ 1 30048-87 | Стержень без хвостовика | 8х69 | В наличии | |
| ОСТ 1 30048-87 | Стержень без хвостовика | 8х70 | В наличии | |
| ОСТ 1 30048-87 | Стержень без хвостовика | 8х72 | В наличии | |
| ОСТ 1 30048-87 | Стержень без хвостовика | 8х73 | В наличии | |
| ОСТ 1 30048-87 | Стержень без хвостовика | 8х75 | В наличии | |
| ОСТ 1 30048-87 | Стержень без хвостовика | 8х81 | В наличии | |
| ОСТ 1 30048-87 | Стержень без хвостовика | 8х82 | В наличии | |
| ОСТ 1 30048-87 | Стержень без хвостовика | 8х84 | В наличии | |
| ОСТ 1 30048-87 | Стержень без хвостовика | 10х54 | В наличии | |
| ОСТ 1 30048-87 | Стержень без хвостовика | 10х55 | В наличии | |
| ОСТ 1 30048-87 | Стержень без хвостовика | 10х57 | В наличии | |
| ОСТ 1 30048-87 | Стержень без хвостовика | 10х58 | В наличии | |
| ОСТ 1 30048-87 | Стержень без хвостовика | 10х60 | В наличии | |
| ОСТ 1 30048-87 | Стержень без хвостовика | 10х61 | В наличии | |
| ОСТ 1 30048-87 | Стержень без хвостовика | 10х63 | В наличии | |
| ОСТ 1 30048-87 | Стержень без хвостовика | 10х64 | В наличии | |
| ОСТ 1 30048-87 | Стержень без хвостовика | 10х66 | В наличии | |
| ОСТ 1 30048-87 | Стержень без хвостовика | 10х67 | В наличии | |
| ОСТ 1 30048-87 | Стержень без хвостовика | 10х69 | В наличии | |
| ОСТ 1 30048-87 | Стержень без хвостовика | 10х70 | В наличии | |
| ОСТ 1 30048-87 | Стержень без хвостовика | 10х72 | В наличии | |
| ОСТ 1 30048-87 | Стержень без хвостовика | 10х73 | В наличии | |
| ОСТ 1 30048-87 | Стержень без хвостовика | 10х75 | В наличии | |
| ОСТ 1 30048-87 | Стержень без хвостовика | 10х76 | В наличии | |
| ОСТ 1 30048-87 | Стержень без хвостовика | 10х78 | В наличии | |
| ОСТ 1 30048-87 | Стержень без хвостовика | 10х79 | В наличии | |
| ОСТ 1 30048-87 | Стержень без хвостовика | 10х81 | В наличии | |
| ОСТ 1 30048-87 | Стержень без хвостовика | 10х82 | В наличии | |
| ОСТ 1 30048-87 | Стержень без хвостовика | 10х84 | В наличии | |
| ОСТ 1 30048-87 | Стержень без хвостовика | 10х91 | В наличии | |
| ОСТ 1 30048-87 | Стержень без хвостовика | 10х93 | В наличии | |
| ОСТ 1 30048-87 | Стержень без хвостовика | 10х94 | В наличии | |
| ОСТ 1 30048-87 | Стержень без хвостовика | 10х100 | В наличии | |
| ОСТ 1 30048-87 | Стержень без хвостовика | 10х102 | В наличии | |
| ОСТ 1 30048-87 | Стержень без хвостовика | 10х103 | В наличии |
Для изготовителей и поставщиков: Добавить мои товары в базу
Для покупателей: Подать заявку на покупку
| Наименование | Типоразмер | Материал | Количество, шт | Вес, кг |
| Стержень с хвостовиком ОСТ 1 30048-87 |
ОСТ 1 30055-84 Накатка кольцевая стержней болт-заклепок из титанового сплава
ОСТ 1 31076-80 Маркировка крепежных изделий взамен НОРМАЛЬ 176АТ
ОСТ 1 31076-80: Маркировка крепежных изделий (взамен НОРМАЛЬ 176АТ)
ОСТ 1 39502-77 Стопорение болтов, винтов, шпилек, штифтов и гаек
ОСТ 1 39503-77 Длины болтов и винтов
ОСТ 1 39504-79 Головки шестигранные болтов и винтов
ОСТ 1 51730-79 Оснастка для формообразования концов труб тяг управления из сплава Д16Т
ОСТ 1 51731-79 Оснастка для формообразования концов труб тяг управления из сплава Д16Т
ОСТ 1.41001-79 Диаметры отверстий под нарезание резьбы метрической по нормали 754АТ
ОСТ 1.41002-79 Диаметры стержней под нарезание резьбы метрической по нормали 754АТ и ОСТ 1.00039-73
ОСТ 92-0762-72 Болты, винты из титановых сплавов
ОСТ 92-1179-77 Детали и сборочные единицы из сталей марок 07Х16Н6 и 08Х17Н5М3
ОСТ 92-8653-75 по ОСТ 92-8674-75 Соединения трубопроводов по внутреннему конусу
ОСТ-1-33102-80 Взамен нормали 102АТУ Гайки ОСТ-1-33102-80
Отраслевая нормаль 214АТ В замен нормали 214МТ55 метрическая резьбой со свободной посадкой
Отраслевая нормаль 714М55 pdf Кольца плоские ,стопорные технические условия
Отраслевая нормаль авиационной техники 101АТУ Взамен 201СТУ51
2026 «Быстрометиз». Мы не интернет-магазин. Информация о наличии и стоимости продукции не является публичной офертой.
Задайте вопрос нашим специалистам