ОСТ 1 34045-79 Заклепки с плоско-скругленной головкой с компенсатором для автоматической клепки

ОСТ 1 34045-79 ЗАКЛЕПКИ С ПЛОСКО-СКРУГЛЕННОЙ ГОЛОВКОЙ С КОМПЕНСАТОРОМ ДЛЯ АВТОМАТИЧЕСКОЙ КЛЕПКИ

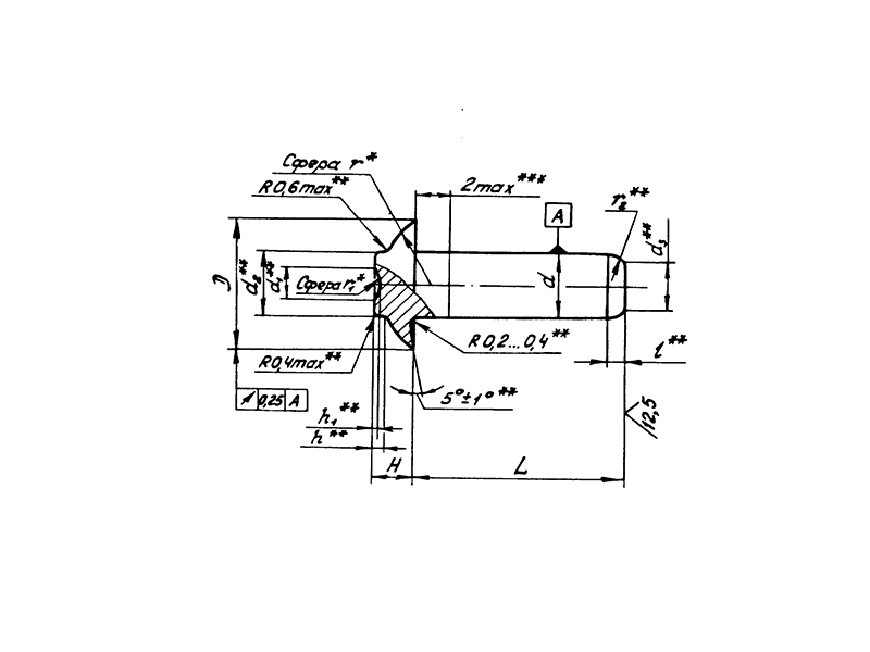
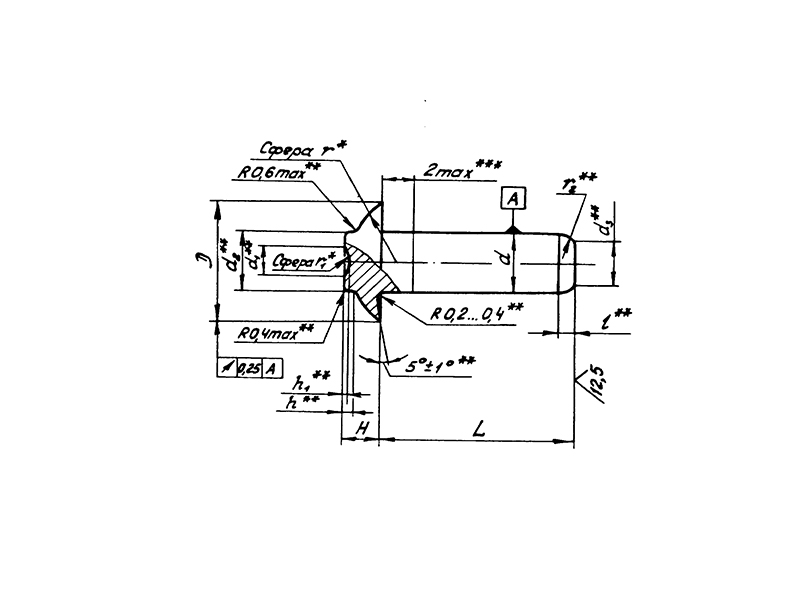
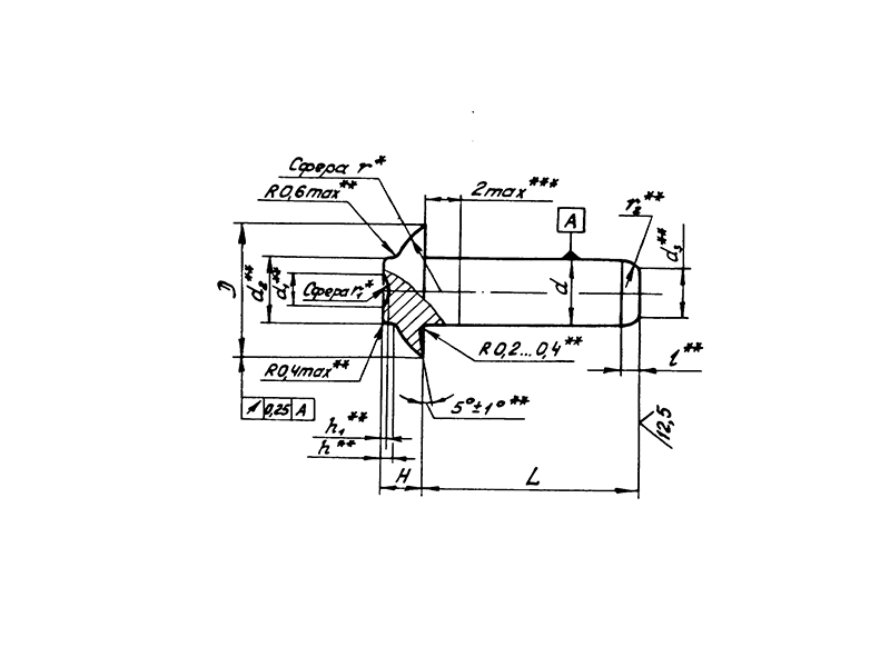
     Заклепки с плоско-скругленной головкой по ОСТ 1 34045-79 – это особый крепеж, предназначенный для выполнения соединений повышенной усталостной прочности и герметичности на сверлильно-клепальных автоматах. Допускается выполнение соединений другими способами клепки.

 КОНСТРУКЦИЯ И ТЕХНИЧЕСКИЕ ОСОБЕННОСТИ

     Конструкция заклепки состоит из плоско-скругленной головки и стержня.

     Материал изготовления: алюминиевый сплав В65.

     Материал покрытия: Ан.Окс.нхр.

ОСТ 1 34045-79.pdf

Пример наименования и обозначения заклепки с плоско-скругленной головкой с компенсатором для автоматической клепки диаметром d=6мм и длиной L=24,5 мм, анодированной:

Заклепка 6-24,5-Ан.Окс-ОСТ 1 34045-79

Заклепка
Наименование метиза
6
Диаметр
24,5
Длина
Ан.Окс
Материал покрытия
ОСТ 1 34045-79
Нормативный документ

ПРИМЕНЕНИЕ

     Настоящий стандарт распространяется на заклепки с плоско—скругленной головкой с компенсатором, предназначенные для выполнения соединений повышенной усталостной прочности и герметичности на сверлильно-клепальных автоматах. Допускается выпол­ нение соединений другими способами клепки.

АНАЛОГИ

ОСТ/ГОСТНормальНаименованиеТипоразмерНа складе
ОСТ 1 34045-79Заклепка3х6,5В наличии
ОСТ 1 34045-79Заклепка3х8В наличии
ОСТ 1 34045-79Заклепка3х9,5В наличии
ОСТ 1 34045-79Заклепка3х11В наличии
ОСТ 1 34045-79Заклепка3х12,5В наличии
ОСТ 1 34045-79Заклепка3,5х6,5В наличии
ОСТ 1 34045-79Заклепка3,5х8В наличии
ОСТ 1 34045-79Заклепка3,5х9,5В наличии
ОСТ 1 34045-79Заклепка3,5х11В наличии
ОСТ 1 34045-79Заклепка3,5х12,5В наличии
ОСТ 1 34045-79Заклепка3,5х14В наличии
ОСТ 1 34045-79Заклепка4х8В наличии
ОСТ 1 34045-79Заклепка4х9,5В наличии
ОСТ 1 34045-79Заклепка4х11В наличии
ОСТ 1 34045-79Заклепка4х12,5В наличии
ОСТ 1 34045-79Заклепка4х14В наличии
ОСТ 1 34045-79Заклепка4х15,5В наличии
ОСТ 1 34045-79Заклепка5х9,5В наличии
ОСТ 1 34045-79Заклепка5х11В наличии
ОСТ 1 34045-79Заклепка5х12,5В наличии
ОСТ 1 34045-79Заклепка5х14В наличии
ОСТ 1 34045-79Заклепка5х15,5В наличии
ОСТ 1 34045-79Заклепка5х17В наличии
ОСТ 1 34045-79Заклепка5х18,5В наличии
ОСТ 1 34045-79Заклепка5х20В наличии
ОСТ 1 34045-79Заклепка6х11В наличии
ОСТ 1 34045-79Заклепка6х12,5В наличии
ОСТ 1 34045-79Заклепка6х14В наличии
ОСТ 1 34045-79Заклепка6х15,5В наличии
ОСТ 1 34045-79Заклепка6х17В наличии
ОСТ 1 34045-79Заклепка6х18,5В наличии
ОСТ 1 34045-79Заклепка6х20В наличии
ОСТ 1 34045-79Заклепка6х21,5В наличии
ОСТ 1 34045-79Заклепка6х23В наличии
ОСТ 1 34045-79Заклепка6х24,5В наличии

Для изготовителей и поставщиков: Добавить мои товары в базу

Для покупателей: Подать заявку на покупку

НаименованиеТипоразмерМатериалКоличество, штВес, кг
Заклепка ОСТ 1 34045-79
О

ОСТ 1 30055-84 Накатка кольцевая стержней болт-заклепок из титанового сплава

ОСТ 1 31076-80 Маркировка крепежных изделий взамен НОРМАЛЬ 176АТ

ОСТ 1 31076-80: Маркировка крепежных изделий (взамен НОРМАЛЬ 176АТ)

ОСТ 1 38016-80 Футорки

ОСТ 1 38020-82 Втулки

ОСТ 1 39502-77 Стопорение болтов, винтов, шпилек, штифтов и гаек

ОСТ 1 39503-77 Длины болтов и винтов

ОСТ 1 39504-79 Головки шестигранные болтов и винтов

ОСТ 1 41471-79 Формообразование концов труб тяг управления из сплава Д16Т. Типовой технологический процесс

ОСТ 1 51730-79 Оснастка для формообразования концов труб тяг управления из сплава Д16Т

ОСТ 1 51731-79 Оснастка для формообразования концов труб тяг управления из сплава Д16Т

ОСТ 1.41001-79 Диаметры отверстий под нарезание резьбы метрической по нормали 754АТ

ОСТ 1.41002-79 Диаметры стержней под нарезание резьбы метрической по нормали 754АТ и ОСТ 1.00039-73

ОСТ 92-0762-72 Болты, винты из титановых сплавов

ОСТ 92-0912-69 Детали из высокопрочных углеродистых легированных и высоколегированных сталей. ОСТ 92-0912-69

ОСТ 92-1130-85 Детали стальные точные

ОСТ 92-1179-77 Детали и сборочные единицы из сталей марок 07Х16Н6 и 08Х17Н5М3

ОСТ 92-8653-75 по ОСТ 92-8674-75 Соединения трубопроводов по внутреннему конусу

ОСТ-1-33102-80 Взамен нормали 102АТУ Гайки ОСТ-1-33102-80

Отраслевая нормаль 214АТ В замен нормали 214МТ55 метрическая резьбой со свободной посадкой

Отраслевая нормаль 714М55 pdf Кольца плоские ,стопорные технические условия

Отраслевая нормаль авиационной техники 101АТУ Взамен 201СТУ51

Отраслевая нормаль авиационной техники. Нормаль 722АТ.

Р

РЕЗЬБА МЕТРИЧЕСКАЯ

Резьба метрическая усиленная тугой посадкой сталь в алюминиевые и магниевые сплавы. Нормаль 254АТ взамен нормальный 154МТ46

Резьба метрическая. Основные размеры и допуски. Отраслевая нормаль 257АТ взамен 57АТ50 взамен 153МТ54.

РЕЗЬБА ТРАПЕЦЕИДАЛЬНАЯ

РЕЗЬБА ТРУБНАЯ ЦИЛИНДРИЧЕСКАЯ

РЕЗЬБА УПОРНАЯ

Резьба усиленная метрическая тугой посадкой сталь сталь система вала настоящая норма распространяется на резьбу усиленную метрическую тугой посадкой для сопрягаемых материалов сталь в сталь. Нормаль 122МТ53 взамен нормали 122МТ51

Резьба усиленная метрическая тугой посадкой сталь сталь система вала настоящая норма распространяется на резьбу усиленную метрическую тугой посадкой для сопрягаемых материалов сталь в сталь. Нормаль 122МТ53 взамен нормали 122МТ51

Резьбовые соединения. Резьба метрическая с натягом по посадкам 2Н5Д и 2Н5С Отраслевой стандарт ОСТ 1 04065–92

Оформите заказ или получите консультацию