ОСТ 1 10031-71 Угольники ввертные для высокотемпературных агрегатов

ОСТ 1 10031-71 угольники ввертные для высокотемпературных агрегатов

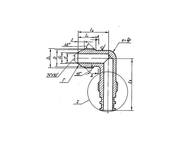
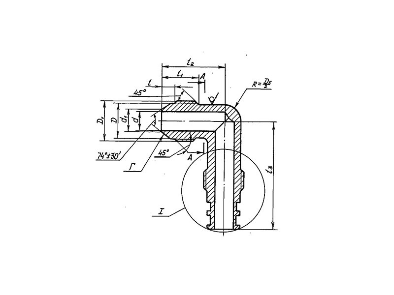
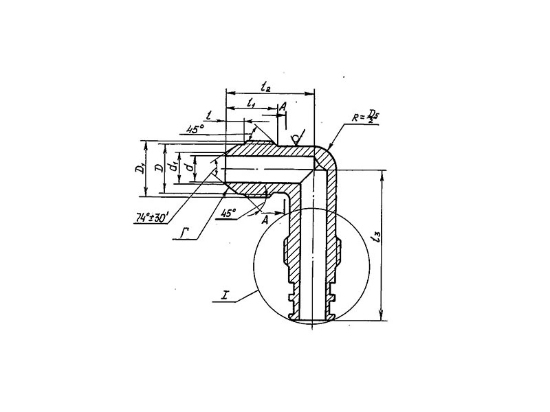
     Угольники ввертные по ОСТ 1 10031-71 - это специальный крепеж, так как его конструкция заключается в трубчатом уголке с резьбой с двух сторон, ими можно соединять трубопроводы различных магистралей систем между собой, по средствам накидных гаек и труб образуя магистрали и замкнутые системы.

КОНСТРУКЦИЯ И ТЕХНИЧЕСКИЕ ОСОБЕННОСТИ

     Конструкция угольника ввертного состоит из трубчатого уголка с резьбами с обеих сторон.

     Материал изготовления: штамповка из стали марки 13Х11Н2В2МФ-Ш.

     Материал покрытия: Хим.Пас.

ОСТ 1 10031-71.pdf

Пример наименования и обозначения ввертного угольника к трубопроводу D=12мм и L=67мм:

Угольник ввертной 12-67-ОСТ 1 10031-71

Угольник ввертной
Наименование метиза
12
Диаметр
67
Длина
ОСТ 1 10031-71
Нормативно-технический документ

ПРИМЕНЕНИЕ

     Данные угольники проходные применяются во многих отраслях промышленности. Они предназначены для высокотемпературных агрегатов, работающих при давлении до 28 МПа (280 кгс/см2) в диапазоне температур от минус 60 до плюс 200 градусов C.

АНАЛОГИ

ОСТ/ГОСТНормальНаименованиеТипоразмерНа складе
ОСТ 1 10031-71Угольник ввертной4х53В наличии
ОСТ 1 10031-71Угольник ввертной4х59В наличии
ОСТ 1 10031-71Угольник ввертной4х67В наличии
ОСТ 1 10031-71Угольник ввертной6х57В наличии
ОСТ 1 10031-71Угольник ввертной6х65В наличии
ОСТ 1 10031-71Угольник ввертной6х77В наличии
ОСТ 1 10031-71Угольник ввертной8х60В наличии
ОСТ 1 10031-71Угольник ввертной8х68В наличии
ОСТ 1 10031-71Угольник ввертной8х76В наличии
ОСТ 1 10031-71Угольник ввертной10х64В наличии
ОСТ 1 10031-71Угольник ввертной10х74В наличии
ОСТ 1 10031-71Угольник ввертной10х84В наличии
ОСТ 1 10031-71Угольник ввертной12х67В наличии
ОСТ 1 10031-71Угольник ввертной12х77В наличии
ОСТ 1 10031-71Угольник ввертной12х87В наличии
ОСТ 1 10031-71Угольник ввертной14х71В наличии
ОСТ 1 10031-71Угольник ввертной14х81В наличии
ОСТ 1 10031-71Угольник ввертной14х91В наличии
ОСТ 1 10031-71Угольник ввертной16х73В наличии
ОСТ 1 10031-71Угольник ввертной16х84В наличии
ОСТ 1 10031-71Угольник ввертной16х96В наличии
ОСТ 1 10031-71Угольник ввертной18х77В наличии
ОСТ 1 10031-71Угольник ввертной18х89В наличии
ОСТ 1 10031-71Угольник ввертной18х101В наличии
ОСТ 1 10031-71Угольник ввертной20х80В наличии
ОСТ 1 10031-71Угольник ввертной20х92В наличии
ОСТ 1 10031-71Угольник ввертной20х104В наличии
ОСТ 1 10031-71Угольник ввертной22х84В наличии
ОСТ 1 10031-71Угольник ввертной22х97В наличии
ОСТ 1 10031-71Угольник ввертной22х109В наличии
ОСТ 1 10031-71Угольник ввертной25х84В наличии
ОСТ 1 10031-71Угольник ввертной25х97В наличии
ОСТ 1 10031-71Угольник ввертной25х109В наличии
ОСТ 1 10031-71Угольник ввертной28х87В наличии
ОСТ 1 10031-71Угольник ввертной28х100В наличии
ОСТ 1 10031-71Угольник ввертной28х113В наличии
ОСТ 1 10031-71Угольник ввертной30х86В наличии
ОСТ 1 10031-71Угольник ввертной30х99В наличии
ОСТ 1 10031-71Угольник ввертной30х112В наличии
ОСТ 1 10031-71Угольник ввертной34х92В наличии
ОСТ 1 10031-71Угольник ввертной34х106В наличии
ОСТ 1 10031-71Угольник ввертной34х120В наличии
ОСТ 1 10031-71Угольник ввертной36х93В наличии
ОСТ 1 10031-71Угольник ввертной36х107В наличии
ОСТ 1 10031-71Угольник ввертной36х121В наличии
ОСТ 1 10031-71Угольник ввертной38х93В наличии
ОСТ 1 10031-71Угольник ввертной38х107В наличии
ОСТ 1 10031-71Угольник ввертной38х121В наличии

Для изготовителей и поставщиков: Добавить мои товары в базу

Для покупателей: Подать заявку на покупку

НаименованиеТипоразмерМатериалКоличество, штВес, кг
Угольник ввертной ОСТ 1 10031-71
О

ОСТ 1 30055-84 Накатка кольцевая стержней болт-заклепок из титанового сплава

ОСТ 1 31076-80 Маркировка крепежных изделий взамен НОРМАЛЬ 176АТ

ОСТ 1 31076-80: Маркировка крепежных изделий (взамен НОРМАЛЬ 176АТ)

ОСТ 1 38016-80 Футорки

ОСТ 1 38020-82 Втулки

ОСТ 1 39502-77 Стопорение болтов, винтов, шпилек, штифтов и гаек

ОСТ 1 39503-77 Длины болтов и винтов

ОСТ 1 39504-79 Головки шестигранные болтов и винтов

ОСТ 1 41471-79 Формообразование концов труб тяг управления из сплава Д16Т. Типовой технологический процесс

ОСТ 1 51730-79 Оснастка для формообразования концов труб тяг управления из сплава Д16Т

ОСТ 1 51731-79 Оснастка для формообразования концов труб тяг управления из сплава Д16Т

ОСТ 1.41001-79 Диаметры отверстий под нарезание резьбы метрической по нормали 754АТ

ОСТ 1.41002-79 Диаметры стержней под нарезание резьбы метрической по нормали 754АТ и ОСТ 1.00039-73

ОСТ 92-0762-72 Болты, винты из титановых сплавов

ОСТ 92-0912-69 Детали из высокопрочных углеродистых легированных и высоколегированных сталей. ОСТ 92-0912-69

ОСТ 92-1130-85 Детали стальные точные

ОСТ 92-1179-77 Детали и сборочные единицы из сталей марок 07Х16Н6 и 08Х17Н5М3

ОСТ 92-8653-75 по ОСТ 92-8674-75 Соединения трубопроводов по внутреннему конусу

ОСТ-1-33102-80 Взамен нормали 102АТУ Гайки ОСТ-1-33102-80

Отраслевая нормаль 214АТ В замен нормали 214МТ55 метрическая резьбой со свободной посадкой

Отраслевая нормаль 714М55 pdf Кольца плоские ,стопорные технические условия

Отраслевая нормаль авиационной техники 101АТУ Взамен 201СТУ51

Отраслевая нормаль авиационной техники. Нормаль 722АТ.

Р

РЕЗЬБА МЕТРИЧЕСКАЯ

Резьба метрическая усиленная тугой посадкой сталь в алюминиевые и магниевые сплавы. Нормаль 254АТ взамен нормальный 154МТ46

Резьба метрическая. Основные размеры и допуски. Отраслевая нормаль 257АТ взамен 57АТ50 взамен 153МТ54.

РЕЗЬБА ТРАПЕЦЕИДАЛЬНАЯ

РЕЗЬБА ТРУБНАЯ ЦИЛИНДРИЧЕСКАЯ

РЕЗЬБА УПОРНАЯ

Резьба усиленная метрическая тугой посадкой сталь сталь система вала настоящая норма распространяется на резьбу усиленную метрическую тугой посадкой для сопрягаемых материалов сталь в сталь. Нормаль 122МТ53 взамен нормали 122МТ51

Резьба усиленная метрическая тугой посадкой сталь сталь система вала настоящая норма распространяется на резьбу усиленную метрическую тугой посадкой для сопрягаемых материалов сталь в сталь. Нормаль 122МТ53 взамен нормали 122МТ51

Резьбовые соединения. Резьба метрическая с натягом по посадкам 2Н5Д и 2Н5С Отраслевой стандарт ОСТ 1 04065–92

Оформите заказ или получите консультацию